Как использовать
Принцип работы обратного молотка заключается в следующем:
- Прежде всего, следует осмотреть поврежденный участок автомобиля, подобрать соответствующий крюк исходя из месторасположения и основных размеров вмятины, чтобы потом правильно рассчитать точность силы приложения.
- Затем ремонтируемый участок поверхности кузова необходимо тщательно очистить от лишнего покрасочного слоя и грунта до металла.
- Далее, нужно приварить на металлическую поверхность вмятины специальные ремонтные скобы (шайбы) при помощи сварочного аппарата. Если электрический споттер идет в комплекте вместе с обратным молотком, то в процессе выравнивания понадобится лишь смена насадки.
- Затем нужно зацепить за скобы крючок автоинструмента, после чего аккуратными и легкими ударами начать вытягивать вмятину.
- Выравнивание рекомендуется производить до полной ликвидации поврежденной части кузовной поверхности.
- Чтобы избавиться от вмятин на вашей машине, необходимо сначала приварить несколько скоб и через их отверстия протянуть прут молотка для удаления повреждения.
- После чего исправленный дефект поверхности следует обработать грунтовкой и снова покрыть краской в тон кузову.
Полезно знать: обратный молоток для кузовных работ является одним из важнейших инструментов, предназначенный для удаления неровностей в труднодоступных местах автомобиля.
Однако стоит обратить внимание на то, что такое приспособление имеет свои минусы, из-за которых вместе с вмятиной на кузове авто удаляется полностью и слой краски, который не был даже поврежден. Помимо этого, участки обширных вмятин капота, крыши и поверхности багажника авто с его помощью невозможно выправить
Приваривание скоб может сильно деформировать металл, что в итоге приведет к полной замене детали.
Компрессор от старого холодильника в гараже
Несмотря на кажущуюся слабосильность – это вполне работоспособный агрегат. При его помощи и колеса накачать можно, и с небольшой доработкой подкрасить автомобиль. Он ничуть не слабее большинства работающих от прикуривателя автомобильных компрессоров, но в отличие от них может трудиться значительно большее время.
Главной проблемой прямого использования этого компрессора является присутствие в схеме его подключения в составе холодильного агрегата терморегулятора. Его следует отключить:
А вот установка на выходном шланге автомобильного фильтра тонкой очистки, улавливающего масляные капельки – неэффективна, лучше для этой цели использовать более мощные фильтры с отстойниками. Пусковое реле стоит использовать штатное. Компрессор питается от 220В, что делает его привязанным к электросети, но в условиях гаража – это очень полезное устройство.
Для подкачки колес на выходной шланг стоит поставить пистолет с нажимным клапаном и манометром, ведь давление эта малютка способна создать до 16 атм.
А если вы планируете при помощи такого компрессора производить и небольшие покрасочные работы, то без ресивера вам не обойтись.
В его роли может выступить любая герметичная емкость, способная выдержать давление в 4 – 7 атм, в которую можно врезать 2 резьбовых или гребенчатых штуцера. Установка манометра в такой системе обязательна.
Также в качестве ресивера можно использовать автомобильное колесо или даже камеру. Более стационарный вариант такого ресивера показан на видео:
Но можно и не портить диск, а сделать систему попроще.
Шланг подкачки присоединяется в систему через золотник, а на выпускной ветке работает механизм перекрывания воздуха в краскораспылителе.
Конечно, вы можете использовать и самодельный краскопульт.
Но в таком случае перед ним следует врезать запорный краник. А вот колесо можно подкачивать и механическим насосом, при небольшом расходе воздуха такого давления будет достаточно.
Шиномонтаж и балансировка – самоделки для домашнего мастера
Создание в своем гараже приспособлений для самостоятельного шиномонтажа и балансировки реально, и позволит постоянно экономить достаточно большие средства. И потребуется для этого не так много приспособлений:
- универсальный станок для шиномонтажа;
- приспособление для балансировки.
Некоторые умельцы разносят функциональные части шиномонтажного станка, но в условиях гаража лучше наоборот их объединить.

Понадобится лапа с рычагом для срыва покрышки с диска и неподвижная подставка с отверстиями для крепления диска и центральным упорным штырем. Крепление диска может осуществляться различными способами, но поскольку у вас в личном пользовании чаще всего 1 – 2 машины, то и крепления разумно сделать под конкретные колеса. Проще всего будет по месту просверлить отверстия для болтов. Количество рычагов для снятия-постановки покрышки на диск может быть и большим, а можете обойтись и одним – двусторонним.



Именно так поступил домашний мастер на видео:
Конечно, удобнее было бы такой станок закрепить к основанию, но с другой стороны: в собранном виде он займет не много места в гараже, а свою основную функцию выполнит и так.
И все же мы не так часто бортируем колеса, как они требуют балансировки. По правилам ее следует делать не реже, чем через каждые 10 тыс. км пробега, но эта процедура на СТО достаточно дорогостоящая и поэтому мало кто выдерживает установленную периодичность. Да и качество ее далеко не всегда соответствует нашим ожиданиям, ведь сложные компьютеризированные станки настраивать и обслуживать еще дороже, а страдают от этого ходовые наших автомобилей.
Существует 2 вида балансировки:
- статическая;
- динамическая.
Приспособления для обоих не сложные, но понадобится хороший токарь и качественный подшипник для одного из них. Зачастую статической балансировки вполне хватает, если вы в основном ездите со скоростью не выше 120 км/час. Нужно выточить ступицу для крепления колеса вашего автомобиля, желательно сделать это с одного закрепления детали или ее саму впоследствии тщательно отбалансировать путем сверления глухих отверстий в нужном месте.


А процесс статической балансировки понятен из видео:
Перечисленные приспособления для гаража, которые не сложно изготовить своими руками – не единственные в своем роде, существует масса других самоделок, упрощающих «гаражную» жизнь домашнего мастера. Если вы поделитесь своими вариантами подобных устройств с нами, то мы будем искренне рады.
Уважаемые читатели, если у вас остались вопросы, задавайте их, используя форму ниже. Мы будем рады общению с вами ![]()
Создание полезных приспособлений для гаража своими руками
Чтобы осуществлять ремонтные и сервисные работы, потребуется соорудить смотровую яму в гараже своими руками, размеры которой будут соответствовать габаритам авто, а также верстак для удобной работы, плюс снабдить помещение станками.
Основной набор инструментов и материалов для создания самодельного верстака для гаража включает:
- доски и деревянные бруски;
- крепежные элементы и стяжки;
- рубанок и другие инструменты для обработки дерева;
- лакирующий и столярный клеевые составы;
- наждачную бумагу и олифу.

Пример размещения в гараже полезных приспособлений: 1 — верстак с ручными станками, 2 — стеллажи и шкафы, 3 — стол для проведения различных ремонтных работ, 4 — полка для хранения шин, 5 — смотровая яма
Технология изготовления верстака в гараже своими руками: фото, чертежи
Верстак состоит из столешницы и подстолья, а также нескольких устройств зажимного типа. Высоту верстака в гараже следует подбирать с учетом собственного роста. Можно взять в качестве ориентира высоту кухонного стола в доме, за которым удобно работать. Обязательно составьте для создания верстака для гаража своими руками чертежи.
Обустройство гаража: как сделать верстак в помещении:
| Этап работы | Детали, размер в см | Тип крепления |
| Сборка столешницы | 20 досок (5х10х200) с пазами 2,5х2,5 в 5-ом и 16-ом элементе (шаг 25) | Клеевой состав металлические стяжки |
| Сушка | — | — |
| Изготовление ножек (4 шт.) | Брусок (10х10х80) с пазами под кронштейны на передних опорах | Кронштейны |
| Сборка основания подстолья | Рамы (2 шт.) из досок (5х10) | Соединение «в шип» на глубину 2,5 см и болты |
| Фиксация боковых и задних опорных стенок | Плиты ДСП (толщина 10 мм) | Шурупы |
| Фиксация столешницы к верхней раме | — | Болты |
Заключительная обработка предполагает пропитку готового изделия олифой и вскрытие лаком.
Рекомендации по созданию смотровой ямы в гараже своими руками
Не существует определенных размеров смотровой ямы в гараже. В качестве основы берутся габариты автомобиля.
Как сделать смотровую яму в гараж с оптимальными параметрами:
- Ширина подбирается с тем расчетом, чтобы внутри было достаточно места для работы. Размер ограничен расстоянием, на которое посажены колеса авто. Каждое колесо нуждается в небольшой площади для выполнения маневров. Средняя ширина ямы составляет 0,8 м.
- Длина ямы ограничивается длиной машины. К этому показателю следует добавить 1 м.
- Для расчета глубины используется рост владельца гаража. К нему прибавляется еще 10-15 см.
Как правильно сделать смотровую яму в гараж с использованием разных материалов:
| Материал | Толщина стенок, см |
| Керамический кирпич | 12-25 |
| Бетон | 15 |
| Строительные блоки | 20 |
Котлован вырывается с учетом оптимальной ширины ямы, материала, выбранного для стенок, а также толщины гидроизоляционного слоя. Этапы создания ямы:
- разметка;
- строительство котлована;
- обустройство котлована;
- строительство стен;
- прокладка освещения.
Для гидроизоляции стен применяется специализированная гидрофобная пропитка.

Схема обустройства смотровой ямы: 1 — стенки из пеноблоков, 2 — гидроизоляция, 3 — бутовая кладка. 4 — уголок размером 50х50х4 мм
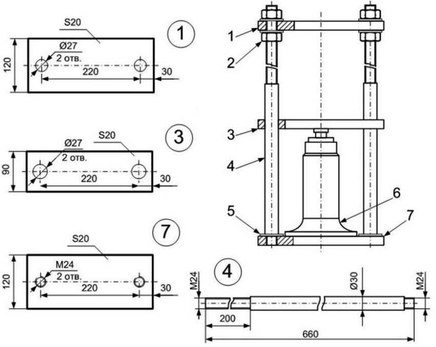
Изготовление пресса для гаража своими руками
Для создания пресса следует изготовить из 4 отрезков металлических труб каркас размером 178х80 см. Эти элементы соединяются методом сварки. В работе рекомендуется руководствоваться чертежами, заранее подобранными или составленными. После этого нужно установить:
- фиксатор;
- съемный упор;
- бутылочный домкрат (гидравлический).
Можно использовать для рассмотрения подробной технологии создания полезных приспособлений для гаража своими руками видео-материалы. Такие наглядные рекомендации помогают сориентироваться в размерах, освоить пошаговые инструкции и представить, какой внешний вид должна иметь готовая конструкция.

Схема изготовления гидравлического пресса: 1 — верхняя силовая платформа, 2 — гайки, 3 — нижняя платформа, 4 — шпильки диаметром 30 мм, 5 — нижняя резьба шпилек, 6 — гидравлический домкрат бутылочного типа; 7 — основание толщиной 20 мм
Обустройство гаража можно сделать собственными руками. На этом список полезных приспособлений не заканчивается. Его всегда можно дополнить любыми интересными идеями. Главное, чтобы гараж полностью соответствовал личным требованиям в отношении комфорта и удобства.
https://youtube.com/watch?v=D1BKvgCBg8Q
Инструмент для рихтовки
Рихтовка – комплекс действий, при которых транспортное средство, или детали полноценно восстанавливаются. Задачу выполняют инструменты для рихтовочного ремонта автомобилей, цель которых заключается в устранении вмятин и дефектов кузова.
Список приборов для рихтовки состоит из:
- комплекса рихтовочных молотков;
- безынерционного молотка;
- вакуумного молотка;
- обратного молотка;
- рихтовочных правок;
- киянки;
- ложки;
- ударных полотен и фигурных стержней;
- рихтовочный стенд для вытягивания отдельных частей поверхности кузова;
- крючки и рычаги;

Вакуумный способ рихтовки предназначен для профессиональных работников. Такие устройства оборудованы насадками-присосками, с которыми справиться неопытному ремонтнику непросто. Поэтому метод восстановления авто при помощи вакуумных молотков слабо распространен.
Список дополнительных инструментов, входящих в набор для рихтовочной правки кузова, включает:
- наковальню – ручной прибор, при помощи которого выравниваются вмятины;
- блоки для насечек – оборудование, повышающее точность ударов (может быть изготовлено самостоятельно);
- шлифовальную машинку – устройства для ремонта кузова, обеспечивающего сглаживание неровностей;
- сварочный споттер;
- домкрат – агрегат, применяемый для поддержки транспортного средства.
Качество рихтовки выше, если детали без покраски обрабатываются отдельно от авто на поверхности, застеленной войлоком. Этот материал способен снизить показатель ударной нагрузки, оказываемой на компоненты машины.

Несмотря на объемный перечень инструментов для рихтовки, немногие приспособы отличаются большими габаритами. Благодаря этому оборудование не занимает много площади в гараже или багажнике авто.
Инструмент для рихтовки
Рихтовка – комплекс действий, при которых транспортное средство, или детали полноценно восстанавливаются. Задачу выполняют инструменты для рихтовочного ремонта автомобилей, цель которых заключается в устранении вмятин и дефектов кузова.
Список приборов для рихтовки состоит из:
- комплекса рихтовочных молотков;
- безынерционного молотка;
- вакуумного молотка;
- обратного молотка;
- рихтовочных правок;
- киянки;
- ложки;
- ударных полотен и фигурных стержней;
- рихтовочный стенд для вытягивания отдельных частей поверхности кузова;
- крючки и рычаги;

Вакуумный способ рихтовки предназначен для профессиональных работников. Такие устройства оборудованы насадками-присосками, с которыми справиться неопытному ремонтнику непросто. Поэтому метод восстановления авто при помощи вакуумных молотков слабо распространен.
Список дополнительных инструментов, входящих в набор для рихтовочной правки кузова, включает:
- наковальню – ручной прибор, при помощи которого выравниваются вмятины;
- блоки для насечек – оборудование, повышающее точность ударов (может быть изготовлено самостоятельно);
- шлифовальную машинку – устройства для ремонта кузова, обеспечивающего сглаживание неровностей;
- сварочный споттер;
- домкрат – агрегат, применяемый для поддержки транспортного средства.
Качество рихтовки выше, если детали без покраски обрабатываются отдельно от авто на поверхности, застеленной войлоком. Этот материал способен снизить показатель ударной нагрузки, оказываемой на компоненты машины.

Несмотря на объемный перечень инструментов для рихтовки, немногие приспособы отличаются большими габаритами. Благодаря этому оборудование не занимает много площади в гараже или багажнике авто.
Стапель – важное оборудование для рихтовки
Стапель – инструмент для правки кузова автомобиля, позволяющий исправить геометрию кузова даже в самых тяжелых случаях. Принцип действия оборудования прост – автомобиль прочно закрепляется в конструкции стапеля, после чего прикладываются мощные усилия вытяжных устройств, растягивающих деформированный кузов в нужных направлениях. В результате деталь выпрямляется. Профессиональные модели стапелей имеют несколько вытяжных устройств сразу.
Стапели классифицируются на три разновидности, которые отличаются друг от друга конструкцией и особенностями работы:
- Платформенный. Представляет собой платформу, на которой расположены струбцины – специальные крепления для автомобильного кузова. Благодаря особенностям конструкции, платформенный стапель способен вытягивать любые детали в любом направлении, используя для этого различные по величине тяговые усилия. Такой стапель может работать как подъемник для машины и обеспечивать доступ к днищу авто.
- Рамный. Рихтовочный инструмент, который можно изготовить самостоятельно. С помощью рамного стапеля осуществляется небольшой кузовной ремонт по вытягиванию отдельных деталей или кузова, а средняя грузоподъемность рамы составляет 4-6 тонн.
- Напольный. Универсальный инструмент для рихтовки, который обеспечивает максимальную грузоподъёмность, ограниченную только возможностями пола. Конструкция напольного стапеля представляет рельсы, вмонтированные в бетонный пол. На рельсах размещены тяговые устройства, присоединяемые к деталям кузова. Именно этот вид стапеля позволяет проводить наиболее серьезные и объемные кузовные работы.
Стапель – оборудование для рихтовки кузова автомобиля, которое есть в каждом профессиональном автосервисе, предлагающем услугу восстановления геометрии кузова. По этой причине он должен быть в гараже, в котором планируется самостоятельная рихтовка кузова любой сложности. Его можно купить или сделать самому.
Используемые материалы
Ремонт авто выполняется не только с использованием специальных инструментов, но и благодаря расходным материалам. Эти устройства должны быть у каждого автовладельца, выполняющего минимальный перечень ремонтных действий.

Материалы для полноценного кузовного ремонта представлены:
- очистительными средствами;
- обезжиривателями;
- антистатическими веществами;
- полиролями;
- антигравийными веществами.
Расходные материалы дополняются элементами, используемыми для защиты при выполнении технического обслуживания транспортного средства. Это — полезные приспособления, упрощающие восстановление авто. В список также водят приборы для измерения, или выполнения других сопутствующих задач. Большинство приборов не требует много места хранения. Категория дополнительного оборудования включает верстаки и стеллажи, при использовании для ремонта.
Ремонт автомобилей — это серьёзная и ответственная работа, требующая определённых знаний и навыков. Есть операции, с которыми может справиться и новичок. Но многие виды ремонта требуют серьёзного опыта и определённой подготовки.
Однако любой спец по ремонту автомобилей когда-то был новичком — каждый из нас даже самую привычную работу однажды делал в первый раз.
Инструменты для ремонта автомобилей
Для выполнения многих работ своими руками вам понадобятся различные приспособы и материалы — с их помощью будет осуществляться фиксация узлов, сборка-разборка, операции по устранению дефектов и т. п.
Давайте же разберёмся, какие специнструменты и приспособления вам могут понадобиться в ходе ремонта автомобилей своими руками.
Основные инструменты для ремонта автомобилей
Cамодельные переноски для гаража
Даже при очень хорошем освещении в самом гараже или днем на улице, под днищем машины видимость очень низкая. Чтобы осветить фронт работ используют переносные светильники — переноски. Это самые просты самоделки для гаража. С них можно начинать эпопею обустройства и оборудования гаражного пространства.

Самый широко распространенный вид переносок для гаража. Самодельные обычно делают очень похожими
В самом простом варианте это патрон, прикрепленный к проводу, к нему может быть приделан небольшой экран с крючком. Такая совсем незамысловатая штука. Лампочки используются обычные — накаливания или экономки под стандартный патрон. Все неплохо, кроме того, что бьются эти лампочки очень часто, надо искать как их повесить, чтобы они светили в конкретное место. В общем, конструкция нуждается в доработке. Есть несколько вариантов переделки.
Небьющийся патрон для лампы
Этот абажур из пластиковой бутылки отлично защищает хрупкую колбу энергосберегающей лампы. Можно также использовать светодиодную лампу, а вот накаливания не пойдет — слишком сильно греется. Конструкция обычная — шнур с вилкой и патроном на конце.
Основная задача — найти пластиковый сосуд со стенками из полупрозрачного молочного пластика средней толщины. Прозрачный не пойдет — не будет рассеивать свет, слишком тонкие стенки не спасут от ударов лампу. После того как нашли подходящий сосуд остается мелочь:
- вырезать окошко примерно в ¼ диаметра бутылки;
- обрезать горлышко так, чтобы можно было вставить лампу, но так, чтобы вкрученная колба прижимала ее к патрону;

Самоделки для гаража: небьющийся плафон для переноски
Все просто, но такой плафон позволяет ярко освещать именно нужный участок, все остальное пространство залито ровным светом, не режущим глаза.
Переноска из светодиодного встраиваемого светильника
Самые простые и распространенные самоделки для гаража — это переносные лампы. Без них работать неудобно не только в гаражной яме, а даже просто на верстаке. Нужен плоский встраиваемый светодиодный светильник, который можно включать в 220 В. Эти модели называют «таблетками» из-за их формы. Еще нужен шнур с вилкой, кусок пластикового подоконника — чтобы встроить светильник. Кусок подоконника по размерам должен быть больше светильника. Конкретные размеры подбираете сами. Дальше действия такие:
- В подоконнике с одной стороны выпиливаем круг с диаметром, чуть меньшим чем диаметр корпуса светильника.
- Штатное крепление светильника удаляем (будет еще тоньше).

Переноска для гаража своими руками из светодиодного встраиваемого светильника
Все, самодельная переноска готова. Этот вариант для установки на полу. Подвижная ножка позволяет менять угол наклона. Чтобы она меньше переворачивалась, внутри корпуса (в нижней его части) можно закрепить пару грузков.
https://youtube.com/watch?v=G6rzDJRMTNo
Используемые материалы
Ремонт авто выполняется не только с использованием специальных инструментов, но и благодаря расходным материалам. Эти устройства должны быть у каждого автовладельца, выполняющего минимальный перечень ремонтных действий.

Материалы для полноценного кузовного ремонта представлены:
- очистительными средствами;
- обезжиривателями;
- антистатическими веществами;
- полиролями;
- антигравийными веществами.
Расходные материалы дополняются элементами, используемыми для защиты при выполнении технического обслуживания транспортного средства. Это — полезные приспособления, упрощающие восстановление авто. В список также водят приборы для измерения, или выполнения других сопутствующих задач. Большинство приборов не требует много места хранения. Категория дополнительного оборудования включает верстаки и стеллажи, при использовании для ремонта.
Ремонт автомобилей — это серьёзная и ответственная работа, требующая определённых знаний и навыков. Есть операции, с которыми может справиться и новичок. Но многие виды ремонта требуют серьёзного опыта и определённой подготовки.
Однако любой спец по ремонту автомобилей когда-то был новичком — каждый из нас даже самую привычную работу однажды делал в первый раз.

Для выполнения многих работ своими руками вам понадобятся различные приспособы и материалы — с их помощью будет осуществляться фиксация узлов, сборка-разборка, операции по устранению дефектов и т. п.
Давайте же разберёмся, какие специнструменты и приспособления вам могут понадобиться в ходе ремонта автомобилей своими руками.

Освещение и вентиляция
В гаражах чаще используются параллельные схемы осветительных приборов. Один светильник позволяет пользоваться конкретной зоной, несколько приборов включаются во время крупного ремонта, посещения погреба. Минимальный расход электроэнергии обеспечивается светодиодными лампами. Большим ресурсом обладают приборы дневного освещения .

В автомобилях используются ядовитые, вредные ГСМ, поэтому становятся актуальными приспособления для вентиляции гаража своими руками, позволяющие создать воздухообмен. Приток организуется снизу:
- гараж – продухи в кладке, защищенные решетками;
- погреб – труба из гаража или с улицы.

Вентиляция гаража и погреба под ним
Вытяжка монтируется под перекрытием погреба, крышей гаража либо имеет вид продухов в капитальных стенах в самых высоких точках.
Статья по теме:
Приспособления для ремонта авто
Многие автовладельцы, чтобы сэкономить немного денег, не обращаются на СТО, а по возможности стараются делать ремонт автомобиля своими руками. Заодно и опыт получают.
Поэтому сегодня широко востребованы различные вспомогательные инструменты и приспособления, изготовленные своими руками.
Пожалуй, одной из наиболее распространенных самоделок является самодельный пеногенератор, который подойдет как для чистки салона, так и для мойки. Сделать его можно из огнетушителя.

Советуем также прочитать: как убрать глубокую царапину на краске автомобиля. Сделай сам, и не переплачивай за ремонт.

Сделать ее можно из металлической профильной трубы и колесного диска. Причем изготовление подобной конструкции не займет много времени. Но нужна будет сварка.
Также мы хотим поделиться с вами простым, но проверенным способом (а точнее — рецептом) приготовления самодельного герметика для радиатора автомобиля. Наверняка, для многих владельцев авто данная информация окажется полезной и нужной.
Чтобы приподнять автомобиль в гараже, можно использовать пневматический домкрат, сделанный из пневмоподушки.

С собой в дорогу такой домкрат не возьмешь, потому что для его работы нужен компрессор, а в гараже — самое то. Но обязательно используйте страховочные стойки и подставки под машину.
Если нужно проверить на работоспособность свечи зажигания автомобиля, то для этого можно изготовить самодельный прибор.

Особенность данного устройства заключается в том, что проверка выполняется в максимально естественных рабочих условиях — под давлением. Сделать данное устройство несложно, но придется немного заморочиться.
И, конечно, мы просто не можем с вами не поделиться интересной идеей, как сделать надежную защиту от слива бензина из бензобака авто. Обязательно эту идею возьмите на вооружение — пригодится.
![]()
Модернизация пистолета для монтажной пены или клея
Если вы часто работаете с жидкими гвоздями или герметиком, то точно знаете, что такое мозоли на руках. Поэтому наша первая самоделка – апгрейд пистолета для монтажной пены. Для этого нужно отпилить лишние детали, поршень со штока приварить к шпильке и продолжать работать уже с помощью шуруповёрта.
Этапы работ можно посмотреть на фото.
ФОТО: youtube.com Отрезать стержень поршня с помощью болгарки необходимо примерно в этом меcте
ФОТО: youtube.com Вытаскиваем стержень, дорабатываем место крепления под новый элемент, уже с резьбой
ФОТО: youtube.com Привариваем стержень к упору
ФОТО: youtube.com Остаётся только насадить модернизированный упор на шуруповёрт
Кстати, рычаги, приводящие в движение шток с поршнем, слабое место таких стержневых пистолетов. Несмотря на то, что имеют рёбра жёсткости, они всё равно быстро гнутся. Именно из-за этого механизм подачи полностью выходит из строя. Такой вариант модернизации решает эту проблему, ускоряя процесс работы.
Простейшие приспособления для подзарядки аккумулятора
Иметь полноценную автомобильную зарядку хорошо, но иногда довольно накладно, тем более, что ее функцию могут выполнять и более дешевые устройства. Так с полноценной зарядкой автомобильного аккумулятора емкостью до 75 ампер-часов вполне может справиться зарядное устройство от ноутбука.

Причем, переделок никаких производить не нужно, а достаточно включить в цепь автомобильную 12-вольтовую лампу мощностью 55 ватт и периодически контролировать степень заряженности аккумулятора мультиметром.

При достижении показателя в 13 – 13,5В следует прекратить зарядку – аккумулятор полностью заряжен
Кроме этого крайне важно не перепутать полярность. Такое использование адаптера нисколько ему не вредит

Вообще без всяких переделок с функцией подзарядки довольно хорошо справляются зарядные устройства для 12-вольтового аккумуляторного электроинструмента, а на большинстве из них и светодиоды, сигнализирующие о полном заряде аккумулятора, имеются.
Старый блок питания от компьютера также способен немного подзарядить севший аккумулятор до уровня, достаточного для запуска машины. Он имеет выходное напряжение 12В, а для полной зарядки нужно, чтобы оно было до 14В, но незначительные переделки могут это напряжение обеспечить.
Недорогой промышленный фен WORKPRO с электронным управлением
Эту штуковину советую всем автослесарям: характеристики за такую цену (4 243 рубля) у неё очень хорошие. Мощность равняется 2 кВт, есть три скоростных режима и возможность тонко настраивать температуру: от 50 до 660 °C с шагом в 10 °C.

При работе почти не шумит – даже меньше обычного фена для волос. Весит совсем немного и удобно лежит в руке, так что работать с гаджетом будет удобно.
Всё управление цифровое, данные отображаются на вот таком дисплее.
В комплекте четыре насадки и кейс из качественного пластика. Для самого фена также использован прочный пластик, а собран девайс хорошо, так что прослужит долго.
Этапы подготовительных работ
Провести работы своими руками, с этапа проектирования и до финальной сборки, не сложно. Для этого нужно определиться с типом конструкции, предпочитаемым и доступным материалом, сделать чертеж, рассчитать размеры и количество деталей, составить смету на закупку материала, аренду оборудования.
Расчет размеров и составление чертежа
Начинают создание чертежа с выбора типа (стационарная или переносная) и материала. Для каждого будет предпочтительна своя форма изделия. Общие габариты:
- высота – до 1 метра;
- ширина – около 0,4 метра;
- длина подъема – около 1 метра;
- длина плоской платформы – от 0,3 метра.
Эстакада – это пара одинаковых сооружений. Сбоку на схеме по форме она напоминает прямоугольную трапецию. Между собой пара горок может дополнительно фиксироваться, чтобы избежать смещения во время подъема на нее машины.
Подготовка материалов и инструментов
В зависимости от материала, для эстакады подбирают инструменты. Конструкция из шпал или металла собирается с помощью:
- сварочного аппарата;
- болгарки;
- болтов, гаек.
В качестве основного материала берут арматуру и 40-ка миллиметровый уголок. Готовую конструкцию сверху покрывают антикоррозийной краской.
Эстакада из дерева создается из:
- деревянных брусков с квадратным сечением со стороной 0,2 метра;
- деревянных колодок или досок;
- гвоздей, шурупов;
- пилы;
- отвертки.





























