Что такое мотоблок
Мотоблок является универсальным агрегатом, который используется для проведения сельскохозяйственных работ. Это устройство помогает облегчить труд на приусадебном участке. Конструкция выполнена на базе одноосного шасси. Человек, управляющий мотоблоком, идет вслед за машиной и держит ее за ручки, на которых расположены органы управления.
На мотоблоках устанавливаются в основном бензиновые двигатели, но встречаются и дизельные. Силовые агрегаты мотоблоков имеют автоматические регуляторы частоты вращения, которые упрощают работу оператора. Мощность двигателей составляет от одной до десяти лошадиных сил.

Расчёт и сборка гусеницы
Гусеница представляет собой ленту, на внешней поверхности которой закреплены траки. Траки — это жёсткие грунтозацепы, установленные по всей длине гусениц. Варианты исполнения гусениц:
- Из транспортной ленты толщиной 3 мм.
- Из автомобильной покрышки.
- Из клиновых ремней.
- Готовые гусеницы заводского изготовления.
Конвейерную ленту необходимо закольцовывать. Её прочности достаточно только для лёгких снегоходов с двигателями не мощней 10 л. с. Автомобильные покрышки прочней ленты, они подойдут для мощных моторов. Цельные покрышки не нужно закольцовывать, поэтому вероятность разрыва минимальна. Покрышку нужной длины подобрать сложней, чем ленту.
Готовые гусеницы снимаются с другой аналогичной техники (снегоходы «Буран», «Шерхан»). На них с завода устанавливаются грунтозацепы. Изделия не годятся для использования с маломощными моторами от мотоблоков. Самодельные снегоходы из «бурановских» гусениц должны иметь зубчатые колёса от одного и того же «донора».
Размер гусеницы подбирается по требуемым ездовым характеристикам: чем больше ширина, тем ниже управляемость, но выше проходимость. Минимальная площадь пятна контакта от снегохода (лыж и гусениц) должна быть такой, чтобы давление от снаряжённого транспорта не превышало 0,4 кг/см2 поверхности. В лёгких снегоходах используют конвейерную ленту шириной 300 мм, разрезанную вдоль на 2 полоски по 150 мм.
Подготовка ленты
Траки крепятся на самодельные гусеницы болтами М6 с широкой шляпкой. Болты фиксируют гайкой, используют шайбу и гровер. Перед креплением в ленте и траках просверливают лидирующие отверстия диаметром 6 мм. При сверлении используют кондуктор и свёрла по дереву со специальной заточкой.
Конвейерную ленту также закольцовывают болтами М6. Для этого края ленты накладываются друг на друга с перехлёстом 3−5 см, соединение содержит 1−2 ряда болтов. Для гусеницы шириной 150 мм выдерживают следующие расстояния:
- От края ленты 15−20 мм.
- Между болтами на траках 100−120 мм.
- Между болтами при кольцевании 25−30 мм.
Самодельные грунтозацепы
Траки выполняются из полиэтиленовой трубы диаметром 40 мм с толщиной стенки 5 мм, распиленной пополам в продольном направлении. Целый участок грунтозацепа прилегает к ленте. В лёгких снегоходах один трак соединяет гусеничную пару. При ширине гусениц 150 мм длина трака составляет 450−500 мм.
Грунтозацепы нарезают с помощью дисковой пилы по дереву. Используют специальный станок с двумя направляющими (металлической и деревянной), жёстко зафиксированными на неподвижной столешнице. Стенки труб распиливаются по очереди.
Расстояние между траками зависит от параметров зубчатых колёс на приводном валу. Обычно составляет 5−7 см. Заданное расстояние выдерживается с погрешностью не более 3 мм. В противном случае работа привода нарушается: грунтозацепы «набегают» на зубья ведущих колёс, гусеница начинает проскакивать и слетать с катков.
Снегоходы из мотоблока на колесах
Рассмотрим, как изготавливают снегоходы из мотоблока на колесах. Колеса для самодельного снегохода должны быть подобраны мощные, так как это обеспечивает собственную безопасность и легкое управление. Могут быть использованы камеры от Урала или КамАза.

Есть несколько способов собственноручного создания колес, которые предполагают металлическую основу со встроенной внутрь камерой. Главным условием при создании вездехода на колесах является оснащенность 3 или 4 колесами.
При установке колес для данного снегохода подбираются шины низкого давления или камеры от больших автомобилей. Их надевают на стандартные диски и закрепляют цепями. Двигатель мотоблока потребляет мало горючего, поэтому высокая автономность снегохода собственного производства позволит передвигаться на длинные расстояния.
Преимущество гусеничного снегохода. В зимнее время мотоблоки на гусеничном ходу намного предпочтительнее. Большая площадь покрытия способствует правильному распределению нагрузки и оказанию давления на грунт. Гусеничная приставка никогда не застрянет в снегу или ином неустойчивом покрытии, чего не скажешь о колесах.
Выясним, во сколько обходятся самодельные снегоходы из мотоблока. Если сравнить готовый снегоход с самодельным, то разница в цене получится значительная. Самодельный обойдется в 5 раз дешевле. А если у вас в наличии будут некоторые детали, то и того меньше. Что касается надежности машины, то при собственноручном изготовлении к выбору деталей мастер подходит основательно, подбирая самые надежные детали. В результате выходит мощная, везде проходимая конструкция.
Рассмотрим отзывы фермеров и огородников. Люди считают, что создать снегоход из мотоблока своими силами целесообразно, хотя бы потому, что самая примитивная готовая машина стоит в пределах от 3,5 до 5 тыс. долларов. Цена лучших моделей начинается от 10 тыс. долларов. Даже приобретая новые детали для сборки снегохода, машина обходится в несколько раз дешевле. На форумах можно встретить много положительных отзывов людей, рассказывающих о своих незабываемых ощущениях от катания на снегоходах, собранных своими руками. Они с удовольствием делятся своим опытом и знаниями с новичками, желающими сконструировать подобную машину.
Снегоход с двигателем от мотоблока:еще вариант
Надёжный и достаточно мощный снегоход получиться с двигателем от моноблока. К сборке сооружения отлично подойдёт мотоблок «Нева» с японским двигателем.
В большинстве случаев мотоблоки состоят из 4-тактных одноцилиндровых бензиновых двигателей с воздушным охлаждением, но 2-тактные двигатели тоже востребованы, поскольку имеют небольшую массу, не сложную конструкцию, высокую ремонтопригодность, ручной запуск и т.д.
Интересно! Самодельный измельчитель травы и веток из стиральной машины, тут!
70 километров в час — такую скорость можно «выжать» из обычного мотоблока, правда, только в том случае, если к его сборке подойти профессионально.
Из мотоблока можно сделать снегоход, словно гоночный автомобиль, преодолевающий снежные заторы.

На таком агрегате можно не только землю пахать, но и ездить в лес за дровами, на охоту, рыбалку или просто кататься с ветерком. Для жителей долгих зим снегоход будет незаменимым транспортным средством.
Топлива расходуется не много, примерно 2 литра в час.
В большинстве случаем снегоходы изготавливают по схеме «2 лыжи впереди и 1 гусеница сзади». Такая конструкция оптимально устойчивая.
Уникальность снегохода состоит в его возможности проехать в тех местах, где обычные машины только мечтают это сделать.

Гусеничный снегоход
Снегоходы из мотоблока на гусеницах характеризуются высокой проходимостью. Но из-за огромной массы ими тяжелее управлять – ухудшается маневренность. Кроме этого, стоимость установки гусениц отличается от лыж или колес.
Можно изготовить гусеницы самостоятельно, но это долгий и сложный процесс. При этом существует несколько особенностей гусеничной машины для прохождения по снегу:
Мотор устанавливается в тяговой части, поэтому придется существенно переделывать раму мотоблока.
Если гусеницы изготавливаются самостоятельно, то уделяется внимание качеству соединений.
Сидение и рулевую часть устанавливается так, чтобы соблюдалось равновесие всех составных частей агрегата.
Переделать мотоблок в гусеничный снегоход не тяжело, главное – позаботиться о безопасности.
Снегоход типа трубочник-палочник
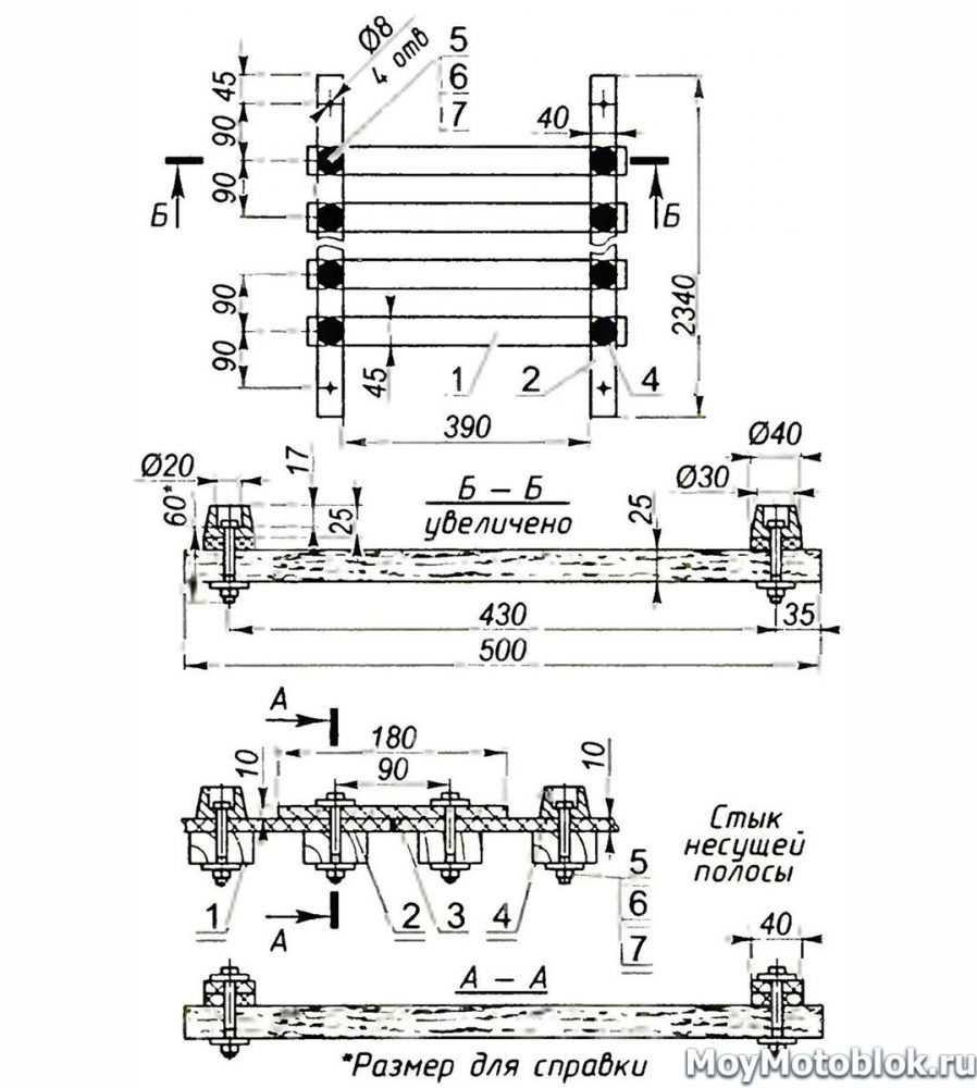
Самодельные гусеничные мотоблочные снегоходы можно выделить в две основные группы в зависимости от материала снегозацепов: «трубочники» и «палочники». Отличаются они используемым материалом для траков. Чтобы конструкция гусениц была более прочной и устойчивой к деформации, используются трубки (обычные пластмассовые водопроводные). Но в этом случае сцепление гусениц и снега невысоко.

Чертеж гусениц для снегохода палочника-трубочника
В другой вариации для траков используется деревянный брус. Срок эксплуатации такого способа обустройства гусениц не очень высокий, зато сцепляемость с поверхностью намного выше.
Способы перевозки
Предположим, вы решили купить себе снегоход, чтобы зимой иметь отличную технику для преодоления заснеженных препятствий
Будь он бу или новый, это уже не принципиально важно
Что интересно, о способах перевозки квадроцикла мы уже рассказывали. Но снегоход совсем иная техника. И тут есть свои особенности.
Есть несколько видов транспорта, которыми можно воспользоваться для реализации поставленной задачи:
Если вы планируете достаточно часто перевозить технику с места на место, тогда самым оптимальным решением станет легковой прицеп нужного размера и с требуемой грузоподъемностью.

Такие автоприцепы отличаются наличием специальных креплений внутри, системой опрокидывания, применением аппарелей, что значительно упрощает процесс загрузки и выгрузки снегохода. Более того, часто внутри прицепа закреплена лебедка. Это минимизирует усилия, прилагаемые для загрузки тяжелой техники.
Плюсы и минусы самодельного снегохода
Приобрести снегоходную технику можно в магазине, однако многие продолжают создавать такие машины собственными руками. Это связано с тем, что самодельные транспортные средства обладают некоторыми преимуществами перед готовыми изделиями.
Основные плюсы:
- Низкая стоимость. Именно из-за цены многие не покупают готовые модели, а сами создают снегоходную технику из мотоагрегата. Если сравнивать стоимость готовых устройств, то их цена может быть в 10 раз дороже самодельной конструкции.
- Возможность выбора параметров. Некоторые самодельные конструкции бывают мощнее фирменных популярных снегоходов.
- Надежность. Снегоходная техника даже брендовых производителей в процессе использования часто ломается. Для собственного вездехода люди выбирают лишь качественные материалы.
Лыжи на мотоблок своими руками
При изготовлении лыж на мотоблок своими руками следует уделить особое внимание материалу, из которого вы собираетесь выполнять данную деталь снегохода. Брать в качестве основы пластмассу не рекомендуется, так как у нее плохое сцепление со снегом
Предпочтение лучше отдать дереву или фанере (не меньше 9 слоев). Обязательно установите металлические подрезы, толщина которых в диаметре должна ровняться 8 мм.

Мастера, имеющие опыт в сборке снегохода, рекомендуют для мотоблока, изготовленного своими руками, использовать амортизаторы. Без этой детали агрегат двигаться, конечно же, будет, но с амортизатором качество езды намного улучшится. Можно снять данную деталь с рамки старого мотоцикла, но оптимальнее всего приобрести новые амортизаторы.
Ходовая часть
Лёгкие снегоходы, предназначенные для катания по рыхлому снегу, оснащаются шарнирной подвеской из удлинённой гайки М16. Это лёгкая конструкция с простым устройством, не обеспечивающая комфортных ездовых характеристик самоделки.
Снегоходы на гусеницах, предназначенные для проезда по укатанному снегу, должны предусматривать амортизаторы (от мотоцикла или мопеда). Амортизаторы устанавливаются в местах крепления лыж и мостов к раме. Ход подвески подбирают таким, чтобы движущиеся элементы не касались кузова снегохода во время работы.
Рулевая и лыжи
Рулевое управление выводится на две фронтальные лыжи по схеме, конструктивно схожей с подвеской. Выполняется из шпильки с резьбой, установленной в удлинённой гайке М16, жёстко приваренной к раме. Используется руль от мопеда или мотоцикла («Минск»).
Всего в конструкции используется 3 пластиковые лыжи от детского самоката (либо самодельные из фанеры толщиной 3 мм). Пара фронтальных лыж применяется для руления. Используются лыжи длиной до 1 метра, при необходимости усиливаются стальной трубой и пластиной.
Третья лыжа опорная, служит для поддержания ленты в рабочем состоянии. Она короче остальных, размещается между мостами (по центру). К опорной лыже крепится Т-образная балка, жёстко приваренная к раме. Сверху балки — свободно вращающиеся ролики для гусениц. Установка такой конструкции не нужна, если гусеница не провисает.
Устройство мостов
Мосты размещаются под погрузочной площадкой. На один мост уходит 2 надувных колеса от садовой тележки и металлический стержень. Колёса свободно вращаются и не имеют привода. В снегоходах, построенных на базе моторов от мотоблоков, колёса накачивают наполовину. К внешним торцам колёс привариваются фиксаторы, с помощью которых мосты крепятся к раме.
Передний мост неподвижен, его фиксаторы жёстко привариваются к раме. Задний мост должен свободно передвигаться вдоль рамы, поскольку служит для натяжения гусеницы. Его фиксаторы предусматривают фрикционные затяжки из болтов М10, закрепляющие мост в рабочее положение.
Лучшие снегоходы-кроссоверы 2022
Снегоходы из категории кроссоверов чаще всего имеют металлические шипы на гусенице, обеспечивающие максимально эффективное использование крутящего момента даже на укатанном снегу и обледенелых участках дороги. Амортизаторы таких моделей предусматривают большое количество настроек.
Lynx Xtreem Commander 800R E-TEC

Снегоход Lynx Xtreem Commander выделяется довольно агрессивным дизайном. Вместо традиционных стоек с телескопической системой модель оборудована А-образными рычагами, дополненными системой стабилизации поперечной устойчивости.
Достоинства:
- Высокие динамические показатели;
- Отзывчивое и точное управление;
- Отличная устойчивость;
- Подогрев ручек руля и сиденья;
- Моментальный запуск одним нажатием на электростартер.
Недостатки:
Цена 1,2 миллиона.
Благодаря цельному шасси и скошенному тоннелю, снегоход Lynx Xtreem Commander обеспечивает естественное положение тела во время движения.
Arctic Cat M8000 Hardcore Alpha One 165

Силовой агрегат снегохода Arctic Cat Alpha One выполнен на базе двигателя мощностью 160 л. с., объемом 794 см3. Установка укомплектована системой привода Arctic Drive System в магниевом корпусе.
Достоинства:
- Инновационная задняя подвеска Alpha One;
- Облегченная гусеница Power Claw с грунтозацепами;
- Вариатор Team;
- Хорошие амортизаторы Fox Float 3 QS3.
Недостатки:
Цена 1,36 млн рублей.
Снегоход Arctic Cat оснащен новыми передними лыжами Pro Climb G2, которые отличаются повышенной устойчивостью и сбалансированностью при катании по глубокому снегу.
Polaris 850 Switchback Assault

Снегоход Polaris 850 Switchback Assault, оснащенный новым двигателем Patriot 850, предусматривает активную манеру вождения по пересеченной местности, в том числе по полному бездорожью. Средняя стоимость модели составляет 1,2 млн рублей.
Достоинства:
- Крупный ЖК-дисплей (109 мм);
- Поддержка GPS;
- Прочные подножки;
- Амортизаторы Walker Evans Piggyback Needle.
Недостатки:
- Большой расход топлива;
- Алюминиевый руль может деформироваться при столкновениях с препятствиями.
Комфортное управление, полный контроль движения и захватывающее дух ускорение обеспечивают снегоходу Polaris 850 Switchback Assault шасси AXYS и задняя подвеска IGX 144
Что это такое?
Снегоход – это механическое транспортное средство. Наиболее известны небольшие по размеру модели, оснащенные лыжами-гусеницами и управляемые по принципу мотоциклетных. Однако на самом деле существует много разновидностей вездеходов на пневматике низкого давления и гусеничном ходу, аэросани. Мотоблоки также разделяют на колёсные и гусеничные. Сделать своими руками снегоход из мотоблока можно с любой ходовой частью, только при этом используются разные способы и материалы.


Превращение мотоблока в снегоход

Начнем с вопроса. Почему именно мотоблок? Объясняется все очень легко. Пришла осень и постепенно все полевые работы сошли на нет. Мотоблок, как медведя отправили в зимнюю спячку. До весны он явно не понадобится, а нет. Зимой он тоже верой и правдой может служить хозяину, облегчая его трудовую деятельность. Поможет в доставке дров из лесу, воды из реки и просто облегчит передвижение по снежному покрову. Сделает его быстрым и комфортным.

С чего начнем? С двигателя. В качестве базового агрегата для нашего снегохода прекрасно подойдет мотоблок среднего класса «Нева», оборудованный задним тягово-сцепным устройством и ручным управлением. Его двигатель при довольно невысокой стоимости, собран из качественных деталей японского производства. Кроме того оснащен принудительным воздушным охлаждением, что очень пригодиться будущему снегоходу. В результате получаем агрегат мощностью до 7 л.с.
Для самостоятельного создания снегохода потребуется трубогиб, сварочный аппарат, угловая шлифовальная машинка, силовой агрегат и ряд покупных запасных частей, которые понадобятся в процессе сборки.



Это интересно: Триммер «Bosch»
Система привода
На выходной вал двигателя устанавливается ведущая звёздочка небольшого диаметра. С него крутящий момент через цепь передаётся на ведомый вал, располагаемый под сидением двигателя. На ведомом валу находятся:
- Ведомая звёздочка большого диаметра.
- Зубчатые колёса, приводящие в движение гусеницы.
- Направляющие для гусениц.

Ведомый вал крепится на раме с помощью подшипников. Зубчатые колёса толкают траки, приводя гусеницы в движение. Цепь и звёздочки снимаются с одного устройства. На роль донора подходят старые мотоциклы, снегоходы («Буран»). Зубчатые колёса для траков снимаются только с другой гусеничной техники.
Направляющие ролики вращаются вместе с валом, крепятся рядом с зубчатыми колёсами и служат для натяжения ленты. Выполняются из дерева или пластмассы, на торцах имеют слой мягкой резины. Резина предотвращает повреждения гусеницы. Такие ролики легко изготовить самостоятельно, закрепив окантовку мебельным степлером.
Arctic Cat ZR 9000 Limited (примерно $15600)

Этот снегоход является самым дорогим снегоходом в мире. Он доступен только в зеленом цвете (кроме специальных версий, т.е. серии limited). Этот надежная машина с турбированным 2-цилиндровым 4-тактным двигателем с рабочим объемом 1056 куб.см.
Каждая деталь этого «монстра» продумана до мелочей, от подвески до изгиба руля. Всё это позволяет ощутить небывалую мощность этого снегохода, при этом обеспечив исключительный комфорт и отличную управляемость. После езды на этом снегоходе не хочется садиться ни на какой другой снегоход. говорят, что по уровню комфорта эта машина может дать фору многим легковым автомобилям премиум-класса.
На что обращают внимание при покупке снегохода?

Устройство подобной техники достаточно простое: конструкция включает в себя две лыжи, одну гусеницу и моторный блок, за счет которого и производится передвижение вперед. Управлять снегоходом очень просто, так как в моторе отсутствует коробка переключения передач – справиться с ним может даже неопытный водитель. Для передвижения нужно пользоваться только педалью газа. Однако необходимо учитывать, что на снегоходы в большинстве случаев устанавливаются достаточно мощные двигатели.
Не стоит слишком резво стартовать на данной технике, так как она может попросту выскочить из седла. Многие модели оснащены специальными устройствами, которые почти ничем не отличаются от чеки – она крепится за запястье водителя. В случае, если он вылетит из седла, сработает полная остановка двигателя.
![]()
Все снегоходы можно разделить на две основные группы – спортивные и туристические. Первый тип используется любителями экстремальных видов спорта. Подобные модели характеризуются укороченной гусеницей, двигателем повышенной мощности, незначительной массой и жесткой подвеской. Сиденье на таких снегоходах всего лишь одно, багажника не предусмотрено. Максимальная скорость, которую может развить такая техника, составляет порядка 200 км/ч, а за счет жесткой подвески даже на столь высокой скорости можно выполнять головокружительные трюки.
Туристические конструкции оснащены широкой движущейся гусеницей – за счет установки такой детали можно с легкостью перемещаться по мягкому и рыхлому снегу значительной глубины. Условия езды здесь более комфортные – сиденье более длинное, на нем могут разместиться два-три человека, предусмотрено ветровое защитное стекло и вместительный багажник, которого будет вполне достаточно для того, чтобы уложить туда все вещи, необходимые в поездке. Двигатели здесь тоже весьма мощные, однако предусмотрено большое количество различных дополнительных элементов – подогрев руля и сиденья, регулировка уровня наклона спинки, ее высоты и так далее.

Встречаются также утилитарные конструкции, которые могут использоваться и как туристические, и как спортивные. При составлении нашего рейтинга лучших снегоходов года, мы учитывали все эти моменты, также изучили множество отзывов пользователей, что позволило нам включить в наш обзор только самые популярные конструкции. Они отличаются великолепным соотношением цены и качества, продолжительным сроком службы и так далее. Теперь самое время рассмотреть основные эксплуатационные характеристики моделей, включенных в наш рейтинг.
Преимущества и особенности самодельного снегохода

Транспортное средство имеет механический привод и гусеничный мотоблок, при езде на котором, вы не застрянете в сугробах.
Управление происходит за счет лыж, а рулевая система находится впереди, поэтому вы сможете легко им управлять.
Цена при покупке того или иного транспортного средства немаловажна. Поэтому, если посчитать, стоимость изготовления снегохода самостоятельно будет ниже раз в пять, нежели покупать его от производителя. А еще дешевле он выйдет за счет имеющегося в наличии мотоблока и других деталей.
Надежность – там, где не пройдет человек и не проедет автомобиль, снегоход преодолеет все препятствия с легкостью.
Если снегоход изготавливается своими руками, то к выбору деталей конструктор подходит очень тщательно. Делая все самостоятельно, вы отвечаете за качество своей конструкции
Кроме того, уделяя большое внимание узлам механизма, вы делаете снегоход вездепроходимым.
Делаем снегоход своими руками
Соблюдая определенный алгоритм монтажа самоделки из мотоагрегата, можно избежать многочисленных ошибок. Снегоходную технику из мотоблока необходимо собирать в определенной последовательности. Рассмотрим поэтапно процесс самостоятельного изготовления снегохода из мотоблока «Нева».
Сначала составляется эскиз будущей конструкции:
- самодельная рама (1);
- вторая звездочка промежуточного вала (2);
- промежуточный вал (3)
- первая звездочка промежуточного вала (4);
- ведомая звездочка вала гусеницы (5);
- приводная звездочка гусеницы (6);
- ведущий вал гусеницы (7);
- две стойки опорной лыжи (8);
- два натяжных катка гусеницы (9);
- ось натяжных катков (10);
- фаркоп (11);
- натяжное устройство (12);
- четыре фланца барабана (13);
- четыре фланца приводной звездочки (14);
- рулевая стойка (15).

Перевариваем раму
Для начала необходимо сварить раму. Для этого используют стальные листы и круглые трубы. С помощью трубогиба деталям придают определенную форму, перед этим нагревают металл при помощи газовой горелки. Соединять детали между собой необходимо при помощи сварки. После этого раму окрашивают, чтобы металл не подвергался коррозии и служил дольше.
Сначала необходимо изучить схему конструкции, чертежи вездехода или снегоходной приставки к мотоблоку. Собранный своими руками транспорт должен быть работоспособным. Обычно схема состоит из ведомой и ведущей частей.
В ведомую часть входят следующие элементы:
- рулевая колонка;
- полозья;
- амортизаторы.
Снегоходы на базе «Минск»
Начнем с самого малого представителя отечественного мотопрома – мотоцикла «Минск». Он хоть и оснащается 125-кубовым мотором, но вполне способен выступить как снегоход, причем умельцы «умудряются» сделать из него снегоходы двух типов.
- Первый тип – колесно-лыжный. Конструктивно в мотоцикле особо ничего не меняется, однако с него снимаются колеса. Вместо переднего колеса устанавливается широкая лыжа.
- Причем делается она очень просто – берется труба в качестве стойки, с помощью крепежного элемента и вала оси колеса лыжа крепиться к передней вилке. Внизу к стойке на шарнире присоединяется широкая металлическая полоса с завернутым передком.
- Относительно задней части снегохода, то здесь несколько сложнее. Делается модуль, который крепиться на место заднего колеса.
- В конструкцию модуля кроме рамы входит задний мост от УАЗ, но несколько модифицированный. Ведомая шестерня моста заменяется на заднюю звездочку мотоцикла ИЖ. Привод на мост осуществляется через промежуточный вал, но все же он остается цепным.
В качестве колес используются камеры от прицепа ПТС-2-4, но для надежности боковины камеры укрепляются боковинами шин. Диски для облегчения делаются сварными из прутов, а закрепляется камера к ним при помощи ремней.
Второй тип снегохода из «Минск» — гусеничный. Причем впереди снова используется лыжа, крепящаяся к вилке. Сзади же тоже установлен модуль, но состоящий из рамы и двух валов, закрепленных на ней.
Передний вал оснащен звездочками. Две большие звездочки – приводные для гусеницы, и малая звездочка для привода вала. Задний вал оснащен катками. Между этими валами натянута гусеница, сделанная из клиновидных ремней и пластиковых планок.
Инженеры и дизайнеры не плохо поработали над мотоциклом иж Юнкер, один из замых красивых моделей отечественного производства.
Также обратите внимание на то, что в качестве горючего может быть использован бензин
Как переделать мотоблок в снегоход
Почему именно мотоблок? Это самый используемый агрегат, который есть в наличии практически у каждого хозяина приусадебного участка. В зимнее время нет необходимость его использовать для обработки земли и уходом за растениями. Поэтому зимой двигатель от мотоблока можно устанавливать на снегоход, а весной вернуть на мотоблок.
Читать также Бактериальный посев из зева
При изготовлении снегохода обычно используют двигатели от мотоблоков среднего класса, с наличием заднего тягово-сцепного устройства и ручного управления. В качестве варианта можно использовать мотоблок «Нева» для изготовления снегохода. Стоимость такого агрегата средняя, а установленные двигатели собраны в Японии.
Также на таких двигателях установлено принудительное воздушное охлаждение, что является плюсом для изготовления снегохода. Результатом всех трудов получится отличный снегоход, мощностью 6-7 л.с. Это позволит перевозить одного или двух человек и небольшой груз, ниже опишем как переделать мотоблок в снегоход подробнее.

Чтобы самостоятельно собрать снегоход необходимы такие детали: двигатель, сварочный аппарат, трубогиб и некоторые покупные запчасти. Несколько этапов изготовления снегохода из мотоблока.
Конструкция переделаки мотоблока в снегоход
Вначале необходимо изобразить конструкцию будущей машины в виде чертежа. Для этого поможет анализ изготовленных самодельных снегоходов. Сама конструкция будет состоять из двух частей: ведомой и ведущей. Ведомая часть состоит из амортизаторов, полозий, рулевой колонки. Для изготовления ведущей части понадобится рама, привод и силовой агрегат.
Когда разрабатывается самодельный проект, следует заранее определить части конструкции, которые изготавливаются самостоятельно, и выделить те части, которые необходимо приобрести.

После создания чертежа, переходим к изготовлению рамы. Для этого желательно использовать трубы. Иногда используют обычные водопроводные, но для большей прочности нужно использовать трубы от мотоциклетных рам. Чтобы придать раме желаемую форму, при помощи трубогиба нужно согнуть трубы. Закрепляются они при помощи сварки.
Во избежание грубых ошибок при сборке снегохода, детали рамы сначала необходимо закреплять точечной сваркой. Проверив правильность конструкции, стыки завариваются единым безразрывным швом. После этого к готовой раме привариваются кронштейны для установки двигателя, полозьев, сиденья, рулевой колонки и других частей.
Полозья и двигатель снегохода
Полозья представляют собой одну или две широкие лыжи, прикрепленные на шарнирном соединении к рулевой колонке. Амортизаторы — это лучшее решение при изготовлении передней подвески. Для этой цели лучше всего подходят рычажные амортизаторы, которые использовались на мотоциклах.

Двигатель и коробка передач устанавливаются на ведущей части собираемого снегохода. Тут нужно заранее решить, для передвижения использовать гусеницы или колесный ход. Оба типа приводов содержать как преимущества, так и недостатки.
Установленные у снегохода задние ведущие колеса позволяет ему быть более маневренным, благодаря легкому весу. Но во избежание пробуксовки колес на рыхлом снегу, их необходимо комплектовать цепями. При использовании гусеничного хода, повышается проходимость снегохода, но значительно увеличивается его вес, что снижает маневренность.
Гусеницы для снегохода
Гусеницы к снегоходу также можно изготовить самостоятельно. При этом можно использовать различные материалы: конвейерные ленты, мотоциклетные цепи, водопроводные трубы и др. Главное, изготовить их надежными, легкими и качественными, чтобы было хорошее сцепление траков с поверхностью.

Развиваемая скорость снегохода 60-70 км/час. Но даже на такой скорости снегоход остается довольно опасным видом транспорта. Поскольку передвижение происходит по снегу, то поверхность движения будет меняться неоднократно, даже во время небольшой поездки. Особая опасность появляется во время бездумной езды в лесу на больших скоростях. Также аккуратно следует передвигаться на открытых неизвестных пространствах, после выпавшего свежего «легкого снега».
Чтобы при езде было меньше проблем, нужно одевать специальную одежду. Чем больше скорость снегохода, тем более требовательным нужно быть к одежде. В наше время валенки и ватники уже не годятся. Одежда должна быть предназначена специально для езды на снегоходах. Также нужно пользоваться специализированным шлемом.
Как самостоятельно изготовить снегоход из мотоблока
Для нашей страны снегоход является лучшим транспортным средством в зимний период. Он отличается высокой проходимостью в сугробах, а также хорошей маневренностью. К тому же у него минимальный расход топлива.
На рынке можно встретить снегоходы от разных производителей, но они стоят недешево, и купить их сможет не каждый. Умельцы наловчились изготавливать снегоход из мотоблока своими руками. Для этого нужны соответствующие инструменты, детали, время и немного смекалки. Стандартным набором для создания снегохода являются:
- рама;
- двигатель;
- бак;
- сиденье;
- лыжи;
- руль управления;
- гусеницы;
- привод.
Рулевая система данного транспортного средства находится впереди. Она управляется за счет лыж.
Рассмотрим, как изготовить снегоход на базе мотоблока Нева. Для того чтобы собрать такую машину, в первую очередь нужен мотоблок. Он выступает в роли двигателя. В нашей стране большой популярностью пользуется мотоблок Нева с японским двигателем и воздушным охлаждением. Всего насчитывается 8 моделей данной марки. Мотор работает от бензина, мощность которого в зависимости от модели варьируется от 6 до 9 л.с. Скорости переключаются цепным редуктором. Их всего четыре. Вместительность топливного бака варьируется от 3 до 5 л.
По своей мощности мотоблок Нева идеально подходит для переделки под снегоход. Он универсален, так как мощности двигателя достаточно для перевозки объемного груза или нескольких человек. Мотоблок может развить скорость до 60-80 км/ч. В продаже есть гусеничная приставка к агрегату Нева, которая без труда собирается и устанавливается.
Разберемся, как сделать снегоход для мотоблока своими руками. Для начала нужно разработать план переделки и четко представить, что вам предстоит делать. Идеальным вариантом является создание чертежа, по которому можно будет безошибочно провести расчеты. Если у вас с черчением плохо, то можно найти готовые чертежи ранее изготовленных снегоходов, и подобрав более подходящий вариант, начать сборку.
Новичкам в этом деле рекомендуется создание небольшого макета, который можно сделать из обычного картона. Неплохо бы для представления будущего устройства рассмотреть уже изготовленные модели других людей, чтобы иметь лучшее представление предстоящей работы. В интернете есть много самодельных прототипов снегоходов.
Следующим шагом является составление списка нужных материалов, деталей и инструментов, нужных для снегохода. После приобретения всего необходимого смело можно переходить к сборке. Вообще сборку мотоблока лучше разделить на несколько этапов, так будет легче справиться с поставленной задачей. Последовательность работы выглядит примерно таким образом:
- Изготовление рамы. Оптимальным решением является готовая рама от мотоцикла. Если таковой нет, то используются прочные трубы. С помощью трубогиба можно получить платформу желаемой формы и, воспользовавшись сварочным аппаратом, соединить концы.
- Монтирование деталей. К раме приваривается опора (кронштейн), к которой будет прикреплен мотоблок. Далее следует установка мотоблока, сиденья и различных деталей: рулевых колонок, амортизатора, полозьев и пр.
Нужно быть очень внимательным и уделять особое внимание размерам деталей. Они должны быть исполнены четко по схеме, в противном случае снегоходная приставка к мотоблоку будет подлежать переделке из-за неточностей
Это интересно: Топ-3 снегоходов модельного ряда рысь их устройство и характеристики
Подготовительный этап при изготовлении снегохода
Важно тщательно просмотреть чертежи, которые подскажут последовательность монтирования деталей снегохода

Два варианта изготовления:
- Колёсной ход. Такая конструкция не требует особых изменений. К мотоблоку цепляют небольшой прицеп, одевают подготовленные колёса-снегоходы;
- Гусеничный ход. Конструкция посложнее с собранной рамой и ходовой. Из мотоблока фактически берётся всего лишь двигатель и еще его пару запчастей. Преимущества такого агрегата в устойчивости и повышенной проходимости, по сравнению с моделями на колёсном ходу.
Устройтво снегохода включает две части: ведомая (амортизаторы, полозии, рулевая колонка) и ведущая (рама, привод, силовое устройство). Во время разработки самодельного проекта стоит заранее определить, какие части конструкции будут изготовлены своими руками, а какие нужно приобрести.
На начальном этапе нужно обзавестись необходимыми материалами и оборудованием:
- Сваркой;
- Трубогибом;
- Болгаркой;
- Эрелью;
- Гаечными ключами и отвёртками;
- Тисками;
- Крепежами;
- Хомутами;
- Токарным станком;
- Трубами, диаметр которых 1 сантиметр;
- Листами из стали с толщиной 5 миллиметров;
- Колёсами.
Читать также Споробол посадка и уход
Складывать снегоход из мотоблока своими руками нужно в сухом отапливаемом помещении, к примеру, в гараже. Так клеящие и красящие вещества просохнут быстрее.






























