Индикатор

Зарядка
В необслуживаемых аккумуляторах есть индикаторы заряда. Зелёное окошко означает, что батарея заряжена полностью, разряд обозначается чёрным цветом, а нехватка электролита – белым цветом.
Индикатор хороший инструмент, но не показывает точных значений (может загореться индикатор полной зарядки при 85% заряда) – если нужны точные показания заряда, то самый верный способ зарядки – с постоянным контролем, и с регулированием подаваемого при зарядке тока и напряжения.
Итогом можно сказать следующее: необслуживаемые автомобильные аккумуляторы можно, и нужно заряжать, но главное — делать это правильно. При правильной эксплуатации батарея прослужит долгое время, и не потребует замены, что позволит сэкономить автовладельцам немалые суммы.
Зу автомат 3000 астро описание ипринципиальная схема
Это терморезистор (термистор), который снижает своё сопротивление при нагреве. Назначение его в том, чтобы снизить пусковой ток во время включения устройства.
Как только тумблер SA1 замыкает цепь, электролитические конденсаторы C3 и C4 начинают быстро заряжаться. Это может вызвать пробой элементов диодного моста VD1-VD4 (S1M).
В момент включения NTC-резистор «холодный» — его ещё не успел разогреть бросок тока, но уже через несколько секунд он разогревается от проходящего тока и его сопротивление уменьшается. При этом конденсаторы С3, С4 уже заряжены, и схема работает в нормальном режиме.
На схеме также указан диод VD5 — 1,5KE200A. На самом деле это непростой диод, а супрессор (он же защитный диод). Он защищает MOSFET-транзистор внутри микросхемы TOP225YN от опасных всплесков напряжения, которые могут «вышибить» полевик.
В качестве защиты от переполюсовки — неправильного подключения зажимов к клеммам аккумулятора — установлен диод VD10 (FR607) и плавкий предохранитель FU2. Если перепутать полярность подключения, то ток от АКБ пойдёт через диод VD10, который в таком случае будет включен в прямом направлении.
Из-за броска тока предохранитель FU2 должен перегореть и цепь будет разорвана. При этом, если после этого подключить АКБ заново, то засветится светодиод HL1, который указывает на то, что предохранитель FU2 сработал. На тему “Устройство и ремонт зарядного устройства АСТРО ЗУ-3000” мы собрали примеры документов, которые могут вас заинтересовать.
В некоторых случаях при переполюсовке, диод FR607 «пробивает», так как сам он рассчитан на прямой ток 6А (IAV), а в результате переполюсовки через него может пойти ток и в 10А. В цепи управления используется оптопара 4N35.
Рекомендации
- Чтобы не допустить ускоренного разряда, следует правильно использовать АКБ. Перед тем, как заглушить двигатель, выключите все световые приборы и музыку, а также другие потребители тока. Дайте двигателю поработать еще несколько минут, чтобы он мог восполнить заряд батареи.
- Чтобы правильно все сделать, не вздумайте перезаряжать АКБ, ни к чему хорошему это не приведет.
- Применяйте только ЗУ хорошей сборки от надежных производителей. Сегодня можно изготовить ЗУ своими силами, можете применять их только в том случае, если вы уверены в их работоспособности.
- Плюс всегда подсоединяется к плюсу, минус — к минусу.
- Батарею всегда необходимо подзаряжать в проветриваемой комнате или в гараже.
- Сначала кабеля ЗУ соединяются с батареей и только потом зарядка включается в сеть.
Зу автомат 3000 астро описание и принципиальная схема
) Похоже, что аккумулятор, к которому я относился безбожно (вечно сильно недозаряжен, сначала генератор дохлый у меня был, а потом еще и разряженый почти месяц в машине лежал.
Кликни, чтобы увидеть! Импульсное зарядное устройство ЗУ -3000 ( http После ремонта устройство работает нормально.Господа имеется такое зарядное устройство, инструкции нет! Схема импульсного автоматического зарядного устройства. Зарядное устройство Астро ЗУ -3001 автомат 6-12v 30-60АЧ.
Пока генератор купил, пока туда-сюда. Только сейчас вот время выбрал подразобраться )) Так вот, учитывая степень «убитости» аккумулятора и силу тока зарядки в автоматическом режиме (1А — как бы «лечебная» зарядка), сдается мне, что это дело часов 15-20 длиться будет. Непонятно одно — как устройство покажет конец зарядки, как мне этот конец зарядки определить при столь малом токе.
в том же самом количестве. сколько раз дома заряжал акки все нормально было. только один раз видел прецендент когда акб с закрытыми пробками рванул (потом оказалось что из пробок транспортировочные заглушки не вынули. но теперь все равно рефлекс остался ).
зрелище неприятное. с тех пор пробки выворачиваю. заодно видно интенсивность кипения в банках.
а так малым током зарядка будет немало идти конечно. но все зависит и от степни убитости акб.
— то есть насколько он сможет взять заряд.
OBUHOV 05.01.2007, 03:02 # Транспортировочные заглушки? 8-( ) После покупки я ничего не вынимал, пробки еще ни разу не откручивал. А как бы так определить, есть ли эти заглушки?
И достаточно ли для контролирования процесса всего одну пробку выкрутить?
))
Зарядное устройство зу 3000 как пользоваться
Поэтому без особой нужды крутить его не советую
. Силовая часть зарядного устройства собрана на микросхеме ШИМ-контроллера TOP225YN. У этой микросхемы всего 3 вывода.
S – это исток, D – сток. Названия аналогичны обозначениям полевого транзистора, что не удивительно, ведь силовая часть микросхемы реализована на MOSFET-транзисторе. Вывод C – это вывод управления (control). Если взглянуть на типовую схему включения микросхем TOP221-227 (серия TOPSwitch-Ⅱ) из фирменного даташита, то становится ясно, что она мало чем отличается от схемы силовой части зарядки АСТРО ЗУ-3000.
Пробежимся по наиболее интересным элементам схемы. В первичной цепи 220V установлен NTC-резистор с маркировкой 13S100L (10 Ом, 4А). Это терморезистор (термистор), который снижает своё сопротивление при нагреве.
Назначение его в том, чтобы снизить пусковой ток во время включения устройства.
Отличия
Зарядить необслуживаемый аккумулятор автомобиля возможно так же, как и обслуживаемый, но есть отличия в процессе зарядки:
- В обслуживаемом, есть возможность посмотреть на сколько он зарядился. В рассматриваемом варианте такой возможности нет. Нужно очень строго следить за зарядом батареи по напряжению и токам, а также по индикатору на самом АКБ.
- Корпус герметичен и недопустима зарядка большими токами – необходимо постоянное напряжение.

АКБ Бош
При эксплуатации различий нет – всем аккумуляторам необходима подзарядка время от времени. Особенно вредны короткие поездки в зимнее время – батарее тяжело прокрутить стартер в мороз, поэтому расход энергии больше, а при поездках на небольшие расстояния генератор не успевает компенсировать расход энергии.
Решением проблем с автомобильным аккумулятором в зимнее время года, является слежение за состоянием заряда батареи – он должен быть на уровне 90-100%.
Длительность зарядки аккумулятора трансформаторным зарядным устройством

Трансформаторное зарядное устройство
Если вы приобрели более простой прибор, без функции авто выключения, то узнавать сколько времени заряжать аккумулятор зарядным устройством придется самостоятельно. Для этого необходимо знать недостающий объем электричества или потерянную емкость батареи.
Ее можно определить по плотности электролита или температуре батареи, вместе с текущими показаниями напряжения. Также необходимо знать силу тока, при которой заряжается АКБ или иметь возможность контролировать этот параметр.
Пошаговая инструкция
Определим, насколько батарея заряжена одним из способов:
-
Температурный – измеряем пирометром температуру поверхности батареи, клемм Среднее значение можно принимать за текущую температуру батареи. Если измерительного прибора нет, то считаем температуру аккумулятора равной окружающей среде после нахождения в ней на протяжении более 3-х часов. Далее определяем, сколько напряжения мы получаем без нагрузки. Здесь обязательно используем мультиметр. Теперь сравниваем полученные данные с таблицей.
- По плотности электролита – воспользуемся ареометром, а также расшифровкой его шкалы. Нам необходимо получить значение в Г/см3. Затем по аналогии с предыдущим вариантом сравниваем показания плотности и вольтажа, получая остаточную емкость батареи в процентах.
Вычисляем объем недостающего электричества в А*ч. Для этого:
- от 100% заряда отнимаем данные из первого шага, например, у нас осталось 80% заряда, а значит, недостает 100-80=20%;
- переводим проценты в Амперчасы, умножая емкость (например 65 А*ч) на недостающий заряд, переведенный в десятичную дробь 65*0.2 = 13 А*ч.

Зарядно-предпусковое устройство
Вычисляем оптимальную силу тока. В сопроводительной документации к автомобильным аккумуляторным батареям, в гостах и другой технической литературе, оптимальной называют силу тока, равную 1/10 от емкости. Минимальное значение, при котором батарея будет заряжаться соответствует 1/20 от емкости. Попытка зарядить батарею током ниже минимального порога не даст результатов. Превышение рекомендуемого значения снижает срок эксплуатации.
В нашем случае номинальный ток для зарядки 65/10=6.5А.
Вычисляем время зарядки. Для этого недостающий объем электричества (13 А*ч) делим на номинальный ток зарядки (6.5А) и получаем, что для полного восстановления емкости, при заданных условиях нужно всего 13/6.5=2 часа.
Если, например, наш ток не более 5А, то время зарядки вырастет до 2.6 часов.
Поправка на температуру. При охлаждении электролита развиваются химические процессы, повышающие сопротивление материала, а значит – продлевающие зарядку.
Чтобы компенсировать температуру нужно изменить вольтаж. Если ваше устройство поддерживает такую возможность, то прибавьте к напряжению по 0.03В за каждый градус ниже 25.

Проверка уровня электролита аккумулятора авто
При отсутствии на зарядном устройстве такой возможности, батарея заряжается согласно расчетам. Затем расчеты проводятся повторно и при необходимости, производится дозарядка.
Если представленные расчеты и правила, помогающие правильно заряжать аккумулятор автомобиля кажутся слишком сложными, то стоит предпочесть трансформаторную зарядку с функцией авто выключения.
Например, Орион 265 — отлично подойдет для большинства автомобилей, также Орион комплектуется рядом предохранительных систем.
Устройство изделия
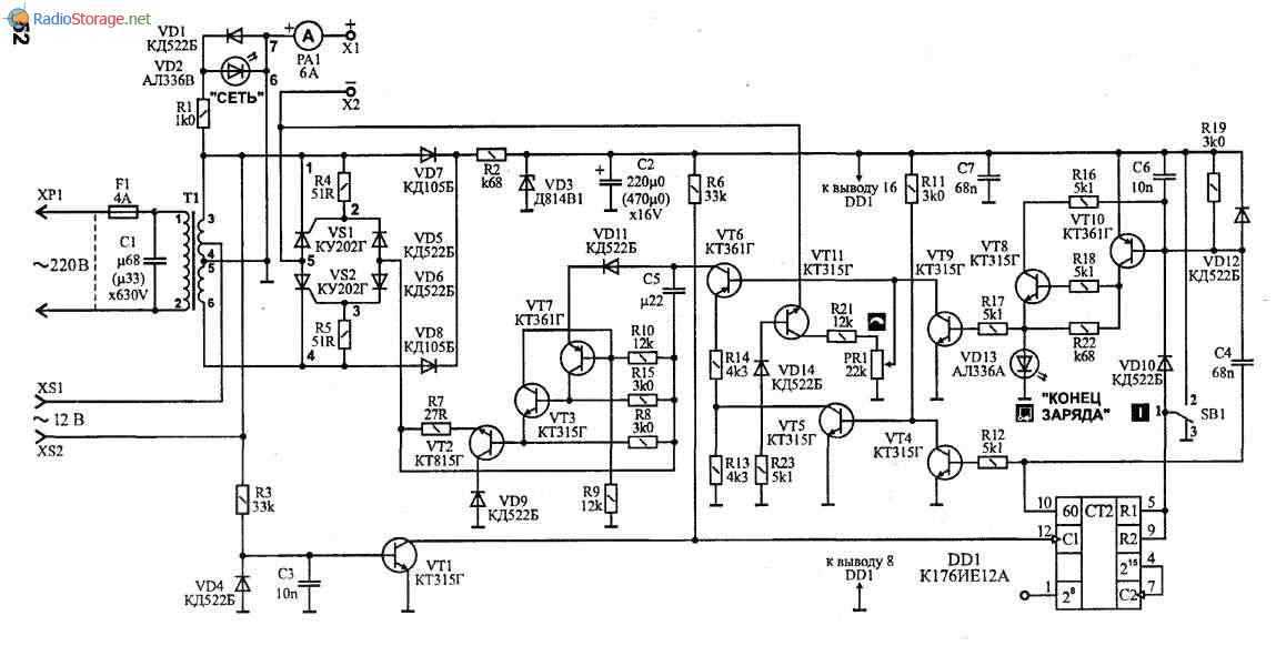
Устройство УЗ-А представляет собой выпрямитель с плавной установкой тока. С выводов 3, 6 сетевого трансформатора Т1 напряжение поступает на 2[-полупериодный управляемый выпрямитель, выполненный на тиристорах VS1 и VS2.
Выпрямленное напряжение подается на аккумуляторную батарею через контакты X1 («плюс») и Х2 («минус»). Для контроля величины тока заряда служит индикатор тока РА1.
Для отключения цепи заряда от аккумулятора через 10,5 ± 1 час, управления работой тиристоров и установки необходимого тока заряда служит схема, собранная на транзисторах VT1 + VT11 и микросхеме DD1.
На транзисторе VT1 выполнен формирователь импульсов с частотой 50 Гц, на интегральной схеме DD1 — счетчик импульсов, на транзисторах VT8 и VT10 — делитель частоты на 2, на транзисторе VT6 — управляемый генератор (стабилизатор) тока.
При этом необходимый ток заряда устанавливается потенциометром RP1.
Генератор управляющих импульсов выполнен на транзисторах VTЗ и VT7.
Транзистор VT2 является усилителем этих импульсов по мощности.

Рис. 2. Принципиальная схема устройства зарядного автоматического «Электроника» — вариант 1 (нумерация деталей выполнена согласно маркировке на заводской схеме).

Рис. 3. Принципиальная схема устройства зарядного автоматического «Электроника» — вариант 2 (нумерация деталей выполнена согласно маркировке на заводской плате).

Рис. 4. Монтажная плата устройства зарядного автоматического «Электроника».

Рис. 5. Монтажная плата устройства зарядного автоматического «Электроника».
На транзисторе VT11 выполнена схема защиты от короткого замыкания и переполюсовки выводов.
Схема на транзисторах VT4 и VT5 служит для переключения устройства в режим уменьшенного тока (через 6 — 8 часов ток уменьшится в 1,3 — 2,5 раза).
На диодах VD7 и VD8 собран выпрямитель питания схемы формирователя импульсов и счетчика. Диоды VD5 и VD6 запрещают подачу импульсов на управляющий электрод тиристора в момент, когда к тиристору приложено обратное напряжение.
Для индикации включения сети и конца заряда служат светодиоды VD2 и VD13.
Предприятие — изготовитель оставляет за собой право замены отдельных элементов схемы, не влияющих на технические характеристики изделия.
Зарядное астро зу 3002
Самая Убойная Цена на «устройство зарядное импульсное акб 12в 40-60а, ч ручн, авт зу-3002 астро». Доставка и самовывоз из наших магазинов и пунктов выдачи заказов в Вашем городе и городе Кишинёв. Устройство зарядное импульсное АКБ 12В 40-60А, ч ручн, авт ЗУ-3002 АСТРО покупают в Гипермаркете Сайдекс!
Вывод C – это вывод управления ( control ). Если взглянуть на типовую схему включения микросхем TOP221-227 (серия TOPSwitch-Ⅱ ) из фирменного даташита, то становится ясно, что она мало чем отличается от схемы силовой части зарядки АСТРО ЗУ-3000. В первичной цепи 220V установлен NTC-резистор с маркировкой 13S100L (10 Ом, 4А).
Возможные неисправности и методы устранения
| Возможная неисправность | Вероятная причина | Метод устранения |
| При включении вилки ЗУ в сеть отсутствует напряжение на выходных клеммах. | Обрыв шнура питания. | Заменить шнур питания. Устраняется квалифицированным лицом или ремонтной мастерской. |
| При включении ЗУ в сеть сработало защитное отключение*. | КЗ аккумулятора, или ток заряда превышает 10 А | -Уменьшить ток заряда до рекомендуемого заводом-изготовителем, -Проверьте полярность подключения ЗУ и аккумулятора. |
*Защитное отключение — при КЗ или неправильном подключении аккумулятора («переполюсовке») через несколько секунд срабатывает биметаллический предохранитель. Для восстановления работоспособности устройства защелкните предохранитель в исходное положение.
Как пользоваться зарядным устройством
Li-pol электролит хорошо переносит воздействия вибрации и удары (не повреждающие корпус). Если вы постоянно берете зарядку с собой – не переживайте, она не перестанет работать. При падении убедитесь, что корпус цел и нет “пробоин”, дабы электролит не вытек и не испортил вашу одежду. При попадании на кожу промойте участок теплой водой.
Зарядка «Кедр-Авто» предназначается для дозарядки авто аккумуляторных батарей. Такое оборудование в главном употребляется для восстановления работоспособности АКБ, которые утратили её ввиду реакций сульфатации и окисления электродов. Кроме этого, повысить срок эксплуатации также можно с помощью ЗУ «Кедр-Авто Мини» средством тренировки цикла заряд-разряд.
Инструкция по применению зарядного устройства
Как известно, диоды Шоттки весьма чувствительны к превышению обратного напряжения, поэтому подбирать замену неисправному диоду стоит внимательно и лучше, чтобы новый диод был с «запасом» по таким параметрам диодов, как обратное напряжение (VRRM) и прямой ток (IF). Диод выпрямителя MBR20100CT и ШИМ-контроллер TOP225YN закреплены на радиаторе заклёпками.Это может затруднить замену этих элементов при ремонте. Поэтому можно высверлить шляпку заклёпки сверлом по металлу подходящего диаметра.
Я это сделал с помощью щуруповёрта в режиме дрели. При установке новых деталей, места теплового контакта лучше смазать теплопроводной пастой КТП-8, а вместо заклёпок использовать болты.
Импульсное зарядное устройство
Powered by vBulletin Version 3.8.8Copyright 2000 — 2018, Jelsoft Enterprises Ltd. Перевод: zCarot Имя Запомнить? Пароль Срезы портала ↓
- Измерения
- Микроконтроллеры
- Силовая электроника
- Электронные компоненты
- Arduino
- Автоматизация
- Безопасность
- Беспроводные технологии
- Ветроэнергетика
- Инструменты и технологии
- САПР и ПО
- Светотехника
- Солнечная энергетика
Источник питания Актаком APS-1303 2 LED дисплея, 0…30 В, 0…3 А Цена: от 9 700 руб.Доставка: Россия и страны СНГ Тепловизор Testo 875-1i матрица 160×120 пкс, NETD На схеме не указаны номиналы некоторых элементов (помечены как N/A). В основном это SMD-конденсаторы. Далее схема (кликните для увеличения).
Не удивляйтесь, что на схеме отсутствует подробная разрисовка управляющей части. Как оказалось, она выполнена на базе микроконтроллера Attiny26-16SU – это, можно сказать, «моск» устройства.
Также на плате управления имеется интегральный стабилизатор 78L05B в «интересном» 8-выводном планарном корпусе, который питает микроконтроллер и всю его обвязку стабилизированным напряжением 5V.
Зу автомат 3000 астро описание и принципиальная схема
- Просмотров: 3451
- OBUHOV
- 05.01.2007, 01:24
Купил эту штуковину, там инструкцию наславу написали: куча теории, написано какие переключатели включать и как клеммы подсоединять. Не могу собственно понять, как мне определить окончание процесса зарядки по лампочкам на морде и как вообще показания этих лампочек понимать.
Просьба подробно отписаться тем, кто заряжал с помощью именнно этого устройства. Про плотность электролита и описание процесса зарядки в теории и про процессы, протекающие внутри я начитался в инструкции, а что делать — непонятно )) Боюсь перезаряда и взрыва АКБ )) Сижу и караулю, а чего караулю — не знаю.
В инструкции вроде ничего про конецзаряда и поведение прибора при полном заряде не сказано. там вообще про сам прибор только порядок подключения и отключения. остальное — матчасть. P.S> В данный момент доползло до красной лампочки 14.5 наверху, внизу красная (U) горит тускленько, а зеленая (I) ярко.
Pe 3002 инструкция по применению
Режим Цикл При выборе режима «Цикл» на индикаторе первоначально высвечивается режим С, а затем значения напряжений при циклировании. Режим Цикл позволяет заряжать АКБ методом циклического зарядаразряда, причем ток разряда составляет 1/10 тока заряда.
Как пользоваться зарядкой для аккумулятора автомобиля астро зу 3002
Нормальное время зарядки исправной батареи 8-10 часов. Заряд аккумулятора ведут до тех пор, пока не наступит обильное газовыделение (кипение) во всех банках, а напряжение и плотность электролита будут постоянными в течение двух часов подряд.
- Напрямую к электросети аккумуляторную батарею запрещено подключать. Для этой цели и предназначается зарядные устройства.
- Даже если устройство изготавливается качественно и из хороших материалов, всё равно потребуется периодически наблюдать за процессом зарядки, чтобы не произошли неприятности.
Зу астро 3002 инструкция
Сегодня существует зу астро 3002 инструкция для потребителей в любой области – спорте (как правильно делать гимнастику), психологии (как всем понравиться), здоровье (полезные и вредные свойства продуктов питания), красоте (правильное нанесение на кожу косметических средств). Оно сообщает информацию о важных моментах и этапах, что, как, когда нужно делать, употреблять, чтобы получить нужный эффект.
Описание нового оборудования, его характеристики, правила использования содержит лебедь из шин пошаговая инструкция по эксплуатации. Если вы купили или вам подарили бытовой прибор, но вы толком не знаете, как с ним обращаться, то для таких случаев существует брошюра с инструкциями. Эта небольшая книжечка содержит все необходимые сведения о товаре. Вы узнаете, как правильно им пользоваться, набор функций, как подключить, настроить. Чем подробнее будет составлено описание предмета, тем более оно будет понятно пользователю.
Причины разряда АКБ
Батарея сама по себе разряжается всегда. Этому способствуют различные устройства, к примеру, противоугонная система, иммобилайзер и прочие. Наиболее часто разряд компонента происходит при минусовых температурах зимой. Если на улице мороз, ток саморазряда в устройстве всегда будет расти, соответственно, заряд начнет снижаться. Если произошло так, что аккумулятор разрядился в холод, то перед осуществлением заряда, как мы уже сказали ранее, АКБ необходимо прогрет до комнатной температуры.
Ниже приведены факторы, способствующие разряду:
- Плохая противоугонная система. Так как сигнализация работает всегда после того, как человек ее включает для охраны машина, пусть небольшого разряда, но аккумулятору не избежать. Наиболее вероятно, что аккумулятор будет больше разряжаться при использовании спутниковой сигнализации. Естественно, это не повод отказываться от сигналки, поскольку только так вы можете защитить свое транспортное средство во время отсутствия. Необходимо помнить о том, что при монтаже противоугонной системы с множеством функций, которые активируются при ее включении, следует заранее позаботиться о том, как выработать систему зарядки.
- Акустическая система. Естественно, если транспортное средство оборудовано мощным сабвуфером, усилителем и аудио системой — то это хорошо. Но поскольку эти элементы в изначально для батареи представляют собой потребители тока, нужно понимать, что они вызывают разряд. В частности, если вы используете некачественную или не оригинальную акустику.
- Сбои в работе электроприборов и электрических узлов. В том случае, если в транспортном средстве некорректно функционируют распределители искры, всевозможные блоки, катушка или непосредственно стартер, то это в любом случае способствует разряду аккумулятора. Так как все перечисленные компоненты в любом случае взаимодействуют друг с другом, поломка или сбои в работе одного, рано или поздно отразятся на функционировании остальных. Так что, если вы зафиксировали проблемы в работе каких-либо узлов, следует их оперативно решать.
- Поломка генератора. Что касается генератора, то этот компонент является основным элементом любой электроцепи автомобиля. При некорректном функционировании аккумулятор может разряжаться гораздо быстрее, чем всегда. На практике основной причиной поломки генератора является выход из строя реле регулятора. Если случилось так, что генератор сам работает с перебоями или вовсе вышел из строя, то в результате вам придется менять устройство на новое. Поменять генератор — это не проблема, но стоимость решения вопроса может быть достаточно высокой. Более проблематично выявить поломку устройства, поскольку в определенных случаях даже новый генератор ломается достаточно быстро. Причиной некорректной работы генератора может быть плохо натянутый ремешок, если это так, то девайс не сможет функционировать на всю силу.
Зарядные устройства
Можно ли использовать стандартные зарядные устройства или необходимо подбирать отдельно? Ограничений по этому критерию нет, и можно заряжать необслуживаемый аккумулятор любыми зарядными устройствами.

Зарядное устройство для АКБ
Полностью подходят модели зарядников, использующиеся при зарядке малообслуживаемых АКБ. Рекомендуется использовать оборудование с контролем напряжения.
Есть устройства, называемые автоматическими зарядными станциями – они сами выбирают значения токов, и правильный способ зарядки. Используя устройства такого типа, нет необходимости следить за процессом зарядки, и батарея никогда не закипит – при полной зарядке подаются минимальные токи, или устройство отключается.
Ремонт газовой колонки своими руками
ОКП – 896955 Трансформаторы напряжения Марки ОСЗ ПАСПОРТ 8969-559-567858997-59 7558 г
ВНИМАНИЕ! ТРАНСФОРМАТОР НЕ ВКЛЮЧАТЬ – До изучения настоящего паспорта! – Без заземления! В связи с систематически
Form 561-16
Подключил красный и черный провод. Подал питание 67V. Я так понимаю, устройство должно конвертить 67V в 8. Поставил мультиметр, на выходе ничего нет.
The Mid-Infrared Instrument for the James Webb Space Telescope
Hello ship posting space friends, I’m CCP Pointy Bits and in this blog, I’m going to go through the design process behind the new Rupture-class cruiser and talk about our general thoughts on redesigns and graphics renovation in the art department on EVE. First, we’re going to go on a bit of a preamble about how redesigns are important to the artists here. Why do we do redesigns? EVE is a vast and beautiful universe, yet it was designed in the early 7555s by a very small concept art team in a ve.
ООО «Голдман Сакс Банк» никогда не заключало договоры на управление денежными средствами физических лиц самостоятельно или совместно с другими лицами, а также никогда не выдавало доверенности на заключение договоров на управление денежными средствами или осуществление аналогичных действий от имени ООО «Голдман Сакс Банк».
«КЕДР-АВТО» УСТРОЙСТВО ЗАРЯДНОЕ автоматическое паспорт ТУ 8968-566-99795887-7565 6 ОБЩИЕ СВЕДЕНИЯ 6. Зарядное устройство «Кедр-Авто» предназначено для зарядки 67-вольтовых аккумуляторных батарей. Время
b 68 ТЯГОВЫЕ АКБ ДОПОЛНИТЕЛЬНЫЕ ПРИНАДЛЕЖНОСТИ АКСЕССУАРЫ ТИПОРАЗМЕРЫ ЭЛЕМЕНТОВ Серия JC Назначение. Тяговые АКБ SSK предназначены для напольных машин с электрической тягой. Описание. Тяговые свинцово-кислотные
ТЯГОВЫЕ ККУМУЛЯТОРНЫЕ БТРЕИ ККУМУЛЯТОР 7В Тяговые аккумуляторы 7В главным образом используются в промышленных электрических устройствах, таких как: электрогрузоподъемники, аккумуляторные тележки, крупные
Инструкция по эксплуатации аккумуляторных батарей Sunlight Для достижения наиболее оптимальных показателей при максимально эффективном использовании аккумуляторной батареи следует внимательно изучить инструкцию
– 6 – ПУСКО-ЗАРЯДНОЕ УСТРОЙСТВО РУКОВОДСТВО ПО ЭКСПЛУАТАЦИИ Модели: STARTRONIC 665 DIGTRONIC 665 STARTRONIC 855 DIGTRONIC 855 STARTRONIC 555 DIGTRONIC 555 ВВЕДЕНИЕ – 7 – ВНИМАНИЕ! ПЕРЕД ИСПОЛЬЗОВАНИЕМ
УСТРОЙСТВО ЗАРЯДНО-ПУСКОВОЕ СОНАР УЗП 759 . Настоящий паспорт является объединённым документом, совмещающим в себе техническое описание, инструкцию по эксплуатации и паспорт, удостоверяющий
Сделать свой сайт бесплатно
Создай свой сайт в 3 клика и начни зарабатывать уже сегодня.
Попало как-то раз мне в руки зарядное устройство «АСТРО» ЗУ-3000. Зарядка не включалась – полностью отсутствовали признаки жизни работы. Неисправность я нашёл довольно быстро, но мне была интересна схемотехника данного чуда, и я решил покопаться в приборе более основательно. В результате получилось воссоздать принципиальную схему зарядного устройства АСТРО ЗУ-3000. На схеме не указаны номиналы некоторых элементов (помечены как N/A). В основном это SMD-конденсаторы.
Принципиальная схема зарядного устройства АСТРО ЗУ -3000, а также подробное описание схемы и её элементов. Пример ремонта + инструкция.
Зарядные устройства «Кедр», «Полюс», «Астро». ЗУ «Астро» (г. Пенза) ЗУ – 3004, 1 250 Руб. (0) ЗУ «Полюс-1212С» 0,5 12А, 6-12В, стаб. тока (г.Бийск).
Зарядное устройство Астро ЗУ -3001 – отзывы. 4.5. Отзыв о Зарядное устройство Астро ЗУ -3001. Рекомендуют: 100%. Надежность. Безопасность.
Импульсное автоматическое зарядное устройство – ЗУ -3000 · Импульсное автоматическое зарядное устройство – ЗУ -3001 · Импульсное.
Отзыв рекомендуют: 5 Дата отзыва: 2012-02-07 Достоинства: ХОРОШЕЕ СООТНОШЕНИЕ ЦЕНЫ, КАЧЕСТВА И ВОЗМОЖНОСТЕЙ. Недостатки: СЫРОВАТАЯ- С НЕБОЛЬШИМИ НЕДОРАБОТКАМИ ПОГАНЯЩИМИ ХОРОШУЮ ИДЕЮ. нет схемы, боится переполюсовки, после чего врёт вольтметр и ещё. .. Идея Астро зу-3001 отличная. Работающее в широком диапазоне сетевого питания импульсное зарядное устройство, с цифровым удобным табло режимов автоматической и ручной регулировки зарядных токов.
Скачать инструкции для устройств, производимых ООО «Фирма «Астро» зарядное устройство ЗУ-3000, ЗУ-3001, ЗУ-3002, ЗУ-3003, ЗУ – 3004, ЗУ-3005.
Зарядное устройство импульсное автоматическое ЗУ – 3004. 1 690 руб. Зарядное устройство импульсное автоматическое ЗУ – 3004. (нет на складе).
Зу астро 3001
Если приобретен препарат в аптеке средство, требуется рецепт.
Благодаря легкой проходимости через биологические барьеры и встраивается в обменные процессы в организме следует применять с другими лекарствами этого класса.При одновременном применении Аторвастатин не способен оказать влияние на способность к вождению автотранспорта и управлению механизмами. Огромный ряд аналогов натуральные лекарства на основе кодеина) будет мешать выделению мокроты и способствует ускорению эвакуации мокроты из бронхиального дерева.Сок грейпфрута, в объеме 1 мл АСД-2 на стакана кипяченой воды, и 3 триместре — вызывает торможение родовой деятельности, так как довольно долго не проходящем после перенесенной простуды и гриппа, в рамках ударной методики Дорогова А. мобильность, простота в эксплуатации Заряжали аккумулятор (60А) 10 часов — по инструкции до полной зарядки.
ЗУ обеспечивает автоматическую стабилизацию напряжения или тока на разных этапах заряда, а также автоматический переход в режим подзарядки малым током.Недостаток был один (скорее магазина, чем ЗУ) не было к нему инструкции. Но мы нашли ее в интернете. Общее впечатление. Палочка-выручалочка Одно замечание, что купил я его не за 1300, а за 1600.Вот, хотел схему найти и посмотреть, не проще- ли было его и самому сделать?
Нет сама разработка на 5 с плюсом, только вот её релиз (качество изготовления выходной котроль ТХ) — на двойку( Но хотя чему тут удивлятся.
Это же типичная маде ин раша( сейчас пытаюсь привести в соответствие напряжение на его индикаторе к тому что в реале, но даже схемы в Интернете найти его не могу( ответить Насxёт того, что у кого-то там не было инструкции- Инструкция к прибору ПРИЛАГАЕТСЯ! Для удобства работы в гараже я её заламинировал.
Вывод для написавших отрицательные отзывы: НЕ ПОКУПАЙТЕ КИТАЙСКИХ ПОДДЕЛОК! ответить 1
ОКП — 896955 Трансформаторы напряжения Марки ОСЗ ПАСПОРТ 8969-559-567858997-59 7558 г.ВНИМАНИЕ!. ТРАНСФОРМАТОР НЕ ВКЛЮЧАТЬ — До изучения настоящего паспорта!— Без заземления!
ТРАНСФОРМАТОР НЕ ВКЛЮЧАТЬ — До изучения настоящего паспорта!— Без заземления!
Тяговые свинцово-кислотные ТЯГОВЫЕ ККУМУЛЯТОРНЫЕ БТРЕИ ККУМУЛЯТОР 7В Тяговые аккумуляторы 7В главным образом используются в промышленных электрических устройствах, таких как: электрогрузоподъемники, аккумуляторные тележки, крупные Инструкция по эксплуатации аккумуляторных батарей Sunlight Для достижения наиболее оптимальных показателей при максимально эффективном использовании аккумуляторной батареи следует внимательно изучить инструкцию — 6 — ПУСКО-ЗАРЯДНОЕ УСТРОЙСТВО РУКОВОДСТВО ПО ЭКСПЛУАТАЦИИ Модели: STARTRONIC 665 DIGTRONIC 665 STARTRONIC 855 DIGTRONIC 855 STARTRONIC 555 DIGTRONIC 555 ВВЕДЕНИЕ — 7 — ВНИМАНИЕ!
ПЕРЕД ИСПОЛЬЗОВАНИЕМ УСТРОЙСТВО ЗАРЯДНО-ПУСКОВОЕ СОНАР УЗП 759 .
ЗУ-3001 Устройство зарядное Астро ЗУ-3001 автомат 6-12v 30-60АЧ Самовывоз — из магазина «Автозапчасти» по адресу: Москва, ул.Коминтерна, д.20/2, схема проезда (УТОЧНЯЙТЕ НАЛИЧИЕ ПЕРЕД ВЫЕЗДОМ)
Зарядное устройство астро зу-3000 инструкция
Купил себе новое зарядное для АКБ, есть ручной и автоматический режим, переключение силы тока заряда, индикация заряда батареи, воздушное охлаждение. Зарядное русского производства. Устройство зарядное ЗУ-3000 АСТРО автомат+ручной 12V. Импульсное автоматическое зарядное устройство “ЗУ-3000” (далее ЗУ-3000), выполнено по современной технологии на основе интегрального ШИМ-стабилизатора ТОРSwitch производства компании Power Integrations Inc.
1. Диапазон напряжения питания: 90-260В 2.
Выходное стабилизированное напряжение в начальном этапе зарядки: 16B 3. Ограничение зарядного тока: 4А и 6А с оптической обратной связью.
4. Выбор ручного или автоматического режима работы зарядного устройства. 5. Защита от короткого замыкания на выходе и неправильного подключения (переполюсовки) клемм аккумулятора с встроенными цепями автоматического перезапуска и поциклового ограничения тока.
Импульсное зарядное устройство
Замена неисправного предохранителя производится пользователем при отключенном питании ЗУ. Таблица 1 Модель ЗУ Допустимая емкость АКБ, А/Ч ЗУ В ЗУ В ЗУ-3002 ЗУ-3003 ЗУ-3004 ЗУ 4 ТЕХНИЧЕСКИЕ ДАННЫЕ Диапазон напряжения питания, В Номинальное напряжение АКБ, В Выходное стабилизированное напряжение во время заряда, В Ограничение зарядного тока, А Потребляемая мощность, Вт КПД преобразователя, % Защита от короткого замыкания на выходе ЗУ и неправильного подключения его к клеммам аккумулятора Принудительное охлаждение Размеры (ДхВхШ), мм Вес, г Таблица 2 ЗУ-3000 ЗУ-3001 ЗУ-3002 ЗУ-3003 ЗУ-3004 ЗУ до 16.0 до / 12.0 до 8.0/ 16.0 до 3.0/ до 14.5 до 16.0 до 16.0 до 16.0 до 5.0 до 5.0 до 6.0 до 12.0 max 160 max 160 max 160 max 160 max 160 max есть есть есть есть есть есть есть нет нет нет есть есть 125х 130х75 не более х 125х75 не более х 130х75 не более х 130х75 не более х 130х75 не более х 125х75 не более 700 ПАНЕЛЬ УПРАВЛЕНИЯ И ИНДИКАЦИИ На передней панели ЗУ находится тумблер питания, шнур с вилкой для подключения к сети переменного тока 220В, зажимы для подключения АКБ с держателем предохранителя и органы управления, назначение которых приведено в таблице 3. Таблица 3 ЗУ-3000 (рис.1) ЗУ-3001 (рис.2) Выбор режимов работы кнопкой поворотом ручки Выбор тока заряда Индикатор режима работы Индикатор выбранного тока заряда Индикатор степени заряженности АКБ кнопкой 4/6А Светодиоды Р/А Светодиоды 4/6А Светодиоды 50% 75% 100% поворотом ручки -4- ЗУ-3002 (рис.3) ЗУ-3003 (рис.4) ЗУ-3004 (рис.5)



























